EasyManua.ls Logo

Jet M-708448 - Page 18

Jet M-708448
19 pages
Print Icon
To Next Page IconTo Next Page
To Next Page IconTo Next Page
To Previous Page IconTo Previous Page
To Previous Page IconTo Previous Page
Loading...
18
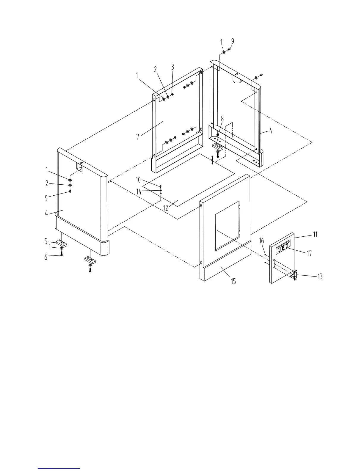
Stand Assembly
Index Part
No. No. Description Size Qty.
1..........TS-0680031..................... Flat Washer................................................... 5/16”.........................22
2..........TS-0720081..................... Lock Washer ................................................. 5/16.........................10
3..........TS-0561021..................... Hex Nut......................................................... 5/16...........................8
4..........EHVS80CS-S04............... Side Panel..................................................... ...................................2
5..........EHVS80CS-S05............... Pad ............................................................... ...................................4
6..........EHVS80CS-S06............... Screw............................................................ 5/16”x5/8...................4
7..........EHVS80CS-S07............... Rear Panel .................................................... ...................................1
8..........TS-0561021..................... Hex Nut......................................................... 5/16...........................4
9..........TS-0081031..................... Hex Cap Bolt................................................. 5/16”-3/4..................10
10........EHVS80CS-S10............... Pan Head Screw............................................ M5x10 ........................2
11........EHVS80CS-S11............... Door.............................................................. ...................................1
12........EHVS80CS-S12............... Shelf.............................................................. ...................................1
13........EHVS80CS-S13............... Latch Assembly............................................. ...................................1
14........TS-1551031 ..................... Lock Washer................................................. M5..............................2
15........EHVS80CS-S15............... Front Panel (w/door)...................................... ...................................1
16........EHVS80CS-S16............... Pan Head Screw............................................ ...................................2
17........EHVS80CS-S17............... JET Label...................................................... ...................................1

Related product manuals