EasyManua.ls Logo

JLA D40 - Multiple Dryer (Common) Venting; Horizontal Venting for Multiple Dryers; Vertical Venting for Multiple Dryers

Default Icon
28 pages
Print Icon
To Next Page IconTo Next Page
To Next Page IconTo Next Page
To Previous Page IconTo Previous Page
To Previous Page IconTo Previous Page
Loading...
10 113242-3
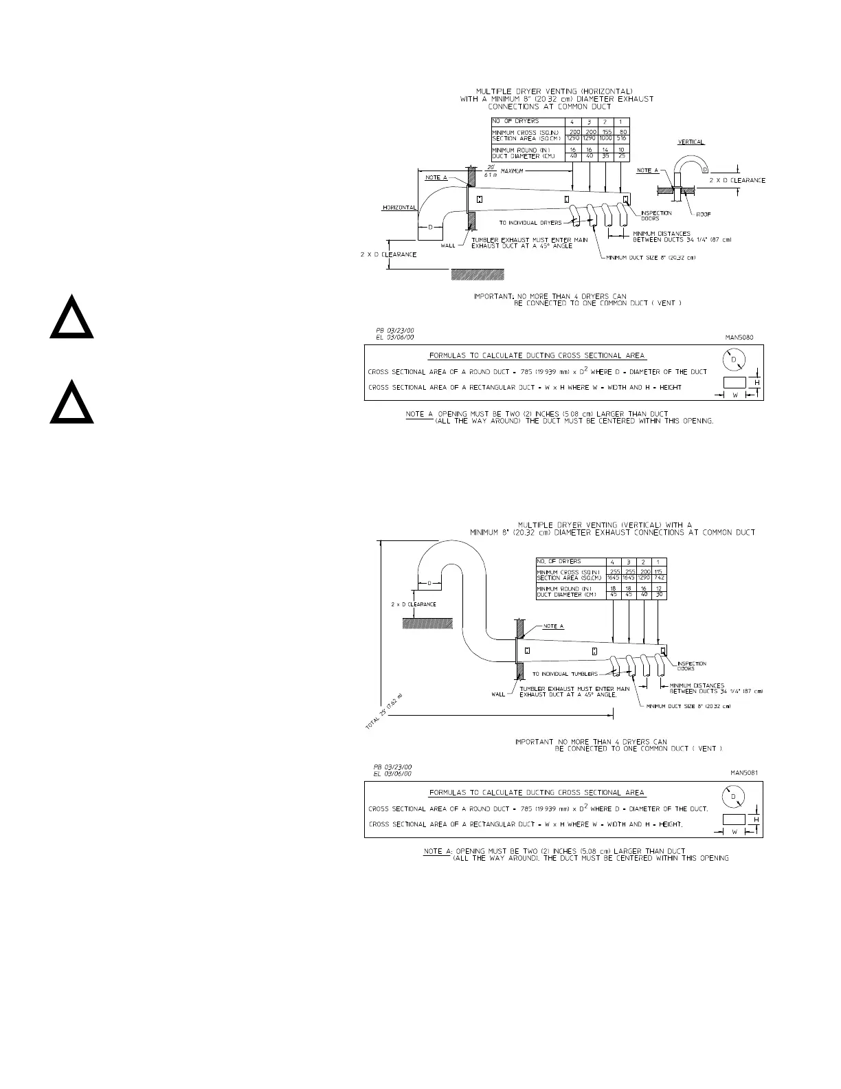
Horizontal Venting
Illus. C
Vertical Venting
Illus. D
!
!
Multiple Dryer (Common) Venting
If it is not feasible to provide separate exhaust
ducts for each dryer, ducts for individual dryers
may be channeled into a common main duct.
Each dryer is provided with a back draft damper.
The individual ducts should enter the bottom or
side of the main duct at an angle not more than
45° in the direction of the airflow.
The main common duct may be any shape so
long as the minimum cross-sectional area is
provided. The main duct should be tapered with
the diameter increasing before each individual
8-inch (20.32 cm) duct is added (refer to Illus. C
for horizontal venting and Illus. D for vertical
venting).
Important
No more than four (4) dryers
maximum should be connected to
one (1) main common duct with a vertical run.
Note
Distance between dryer single ducts
being connected to the main
common duct must be a minimum width of
34-1/4” (87 cm).
Ductwork should be laid out in such a manner
where allowances are made at rear area of the
dryer for removal of rear service panels or
guards.
The illustrations show the minimum cross
section area for multiple dryer venting. These
figures must be increased in proportion if the
main duct run from the last dryer to where it
exhausts has numerous elbows or is unusually
long.

Related product manuals