EasyManua.ls Logo

Johnson Controls FAC3611 - Setup and Adjustments; Setting the device address; Table 6: SA;FC bus device address descriptions

Johnson Controls FAC3611
22 pages
Print Icon
To Next Page IconTo Next Page
To Next Page IconTo Next Page
To Previous Page IconTo Previous Page
To Previous Page IconTo Previous Page
Loading...
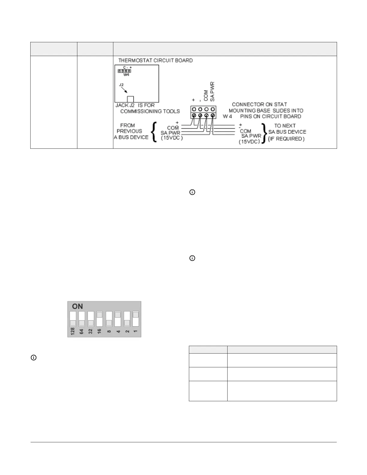
Table 5: Termination details
Type of field
device
Type of Input/
Output
Termination diagrams
Network Stat with
Terminals (Fixed
Address = 199)
SA Bus
Setup and Adjustments
Setting the device address
Metasys expansion modules are master devices on MS/
TP (SA or FC) buses. Before operating an expansion
module on a bus, you must set a valid and unique device
address for each expansion module on the bus. You set
an expansion module's device address by setting the
positions of the switches on the DIP switch block at the
top of the expansion module . Device addresses 4 through
127 are the valid addresses for these expansion modules.
The DIP switch block has eight switches numbered 128,
64, 32, 16, 8, 4, 2, and 1. Switches 64 through 1 are device
address switches. Switch 128 must be set to off for all
hard-wired SA and FC bus applications. Switch 128 must
be set to OFF for all hard-wired SA and FC Bus applications
Figure 9: Device address DIP switch block set to
address 21
Note: Metasys controllers ship with switch 128 ON
and the remaining address switches OFF rendering
the controllers wired subordinate devices, which do
not operate on MS/TP buses, but do not interfere
with bus operation. Set a valid and unique device
address on the expansion module before applying
power to the expansion module on the bus.
To set the device addresses on Metasys expansion
modules, complete the following steps:
1. Set all of the switches on the address DIP switch
block (128 through 1) to OFF.
2. Set one or more of the seven address switches
(64 though 1) to ON, so that the sum of the switch
numbers set to ON equals the intended device
address, and ensure that switch 128 remains set to
OFF.
Note: To do this, set the highest number switch that
is less than or equal to the intended device address
to ON. Then continue setting lower numbered
switches until the total equals the intended address.
For example, if the intended device address is 21,
set switches 16, 4, and 1 to ON (16+4+1= 21) and all
other switches to OFF.
3. Set a unique and sequential device address for each
of the expansion modules connected on the SA or FC
bus starting with device address 4.
Note: To ensure the best bus performance, set
sequential device addresses with no gaps in the
device address range (4, 5, 6, 7, 8, 9, and so on). The
expansion modules do not need to be physically
connected on the bus in their numerical device
address order.
4. Write each expansion module's device address on
the white label below the DIP switch block on the
expansion module's cover.
The following table describes the FC bus and SA bus
device addresses for Johnson Controls MS/TP communica-
tions bus applications.
Table 6: SA/FC bus device address descriptions
Device Address Use on Descriptions
0
(Switch 128 Off)
Reserved for FC Bus Supervisory Controller (not
for use on controllers or expansion modules).
1-3
(Switch 128 Off)
Reserved for peripheral devices (not for use on
controllers or expansion modules).
4-127
(Switch 128 Off)
Used for MSTP master devices (controllers and
expansion modules) that are hardwired to an
SA bus or FC bus.
FAC3611 Advanced Application Controller Installation Guide 15

Related product manuals