EasyManua.ls Logo

JVC DT-V1710CG - Setup Menu-Verwendung

JVC DT-V1710CG
228 pages
Print Icon
To Next Page IconTo Next Page
To Next Page IconTo Next Page
To Previous Page IconTo Previous Page
To Previous Page IconTo Previous Page
Loading...
18
SETUP MENU-VERWENDUNG
SETUP MENÜ-TAFELN
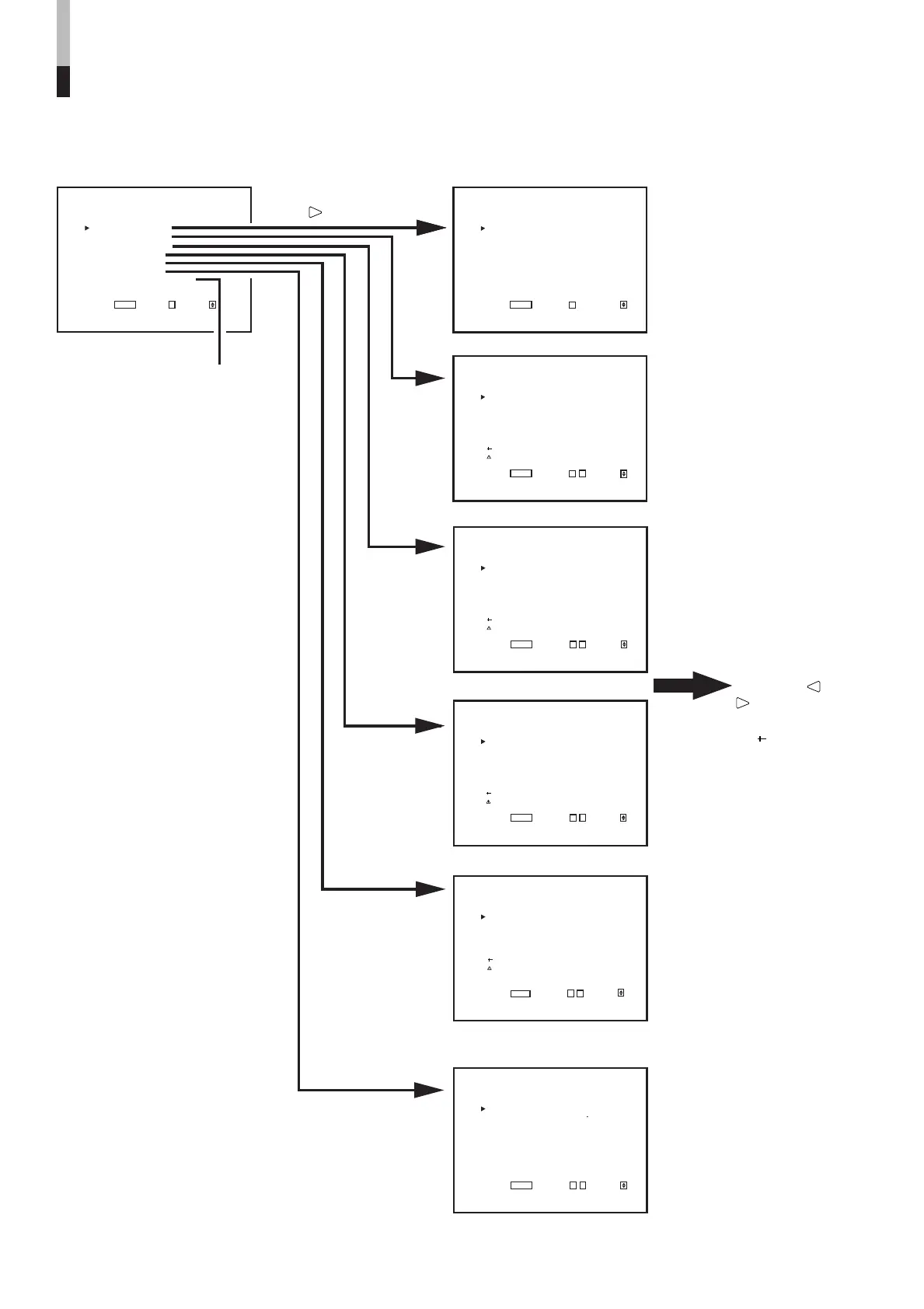
<SETUP MENU>
FUNCTION SETTING
PICTURE SUB ADJ.
COLOR TEMP./BAL.
SIZE/POSI.ADJ.
DISTORTION ADJ.
STATUS DISPLAY
CONTROL LOCK :ON
all reset
EXIT:MENU ENTER:+ SELECT:
<FUNCTION SETTING>
COLOR SYSTEM :AUTO
AUTO INPUT :ON
SYNC SELECT :INT.
RUSH DELAY TIME :STD.
TALLY SELECT :GREEN
REMOTE SYSTEM :MAKE
E.AUDIO GROUP :1G
HOUR METER X100 :000
EXIT:MENU ADJUST:- + SELECT:
<PICTURE SUB ADJ.>
CONTRAST : 00
BRIGHT : 00
CHROMA : 00
PHASE : 00
NTSC SETUP : 00
COMPO.LEVEL : SMPTE
sub menu
reset
EXIT:MENU ADJUST:- + SELECT:
<COLOR TEMP./BAL.>
COLOR TEMP. : LOW
BLUE DRIVE : 000
RED DRIVE : 000
GREEN CUTOFF : 000
BLUE CUTOFF : 000
RED CUTOFF : 000
sub menu
reset
EXIT:MENU ADJUST:- + SELECT:
<SIZE/POSI. ADJ.>
H.SIZE : 00
H.POSITION : 00
V.SIZE : 00
V.POSITION : 00
ZOOM H.SIZE : 00
ZOOM V.SIZE : 00
sub menu
reset
EXIT:MENU ADJUST:- + SELECT:
<DISTORTION ADJ.>
PINCUSHION : 00
PIN.BALANCE : 00
PARALLELOGRAM : 00
TRAPEZOID : 00
ROTATION : 00
sub menu
reset
EXIT:
MENU
ADJUST:- + SELECT:
<STATUS DISPLAY>
STATUS DISPLAY :ON
LEVEL METER ch :31
24
BAR TYPE :3COLORS
REFERENCE LEVEL :-20dB
OVER LEVEL :-4dB
BAR BRIGHTNESS :HIGH
EXIT:MENU ADJUST:- + SELECT:
Einzustellende Einträge
Zur Einstellung
die Tasten
und
verwenden.
Weitere Angaben
zu sub menu und
reset siehe Seite 14.
drücken.
Siehe Seite 22.
SETUP MENU
* Zum Aufruf des zuletzt gezeigten
Menüs (MENU) die MENU-Taste
drücken.
LCT1423-001A(DE)P65 4/29/03, 5:29 PM18

Table of Contents

Other manuals for JVC DT-V1710CG

Related product manuals