EasyManua.ls Logo

JVC RC-X3 - Block Diagram <.220

JVC RC-X3
41 pages
Print Icon
To Next Page IconTo Next Page
To Next Page IconTo Next Page
To Previous Page IconTo Previous Page
To Previous Page IconTo Previous Page
Loading...
iz
RC-X3
B/E/G
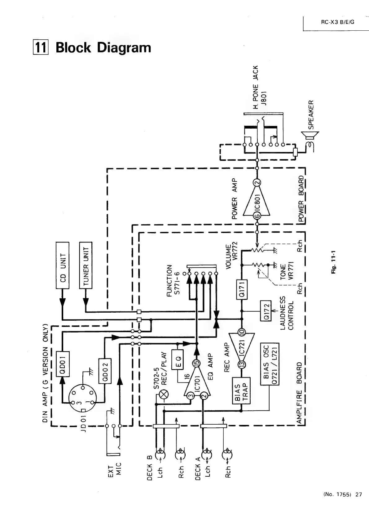
11]
Block
Diagram
L-LL
“6i4
waives
Poe
eins:
eee
a
ah
ae
ey
See
ee
[auvog
u3mod]
[usu
uy
Guvos
3ul+dwvl
|
l
|
|
LLLYA
|
TOMLNOD
|
|
|
7
|
3NOL
|
SS3NGNV1
|
)
|
loge
ni
Es:
|
|
a
7
[zz!0]
eo0
S28
|
wove
3NOd
H
On
noms
|
p
ty
I
|
Svi8
j
|
dwv
yamod
ZLLUA
|
J
|
|
|
SWNIOA
dwv
234
§
<>
YY
Lo
|
2
|
|
|
<=
|
dWvV
03
@
§
<>
41
|
i
iS
axtaoit
74
30
1
:
,
3
1
ge
usy
|
||
9-LLS
|
03]
.
|
enna
nld
W1d/238
(&)
el
|
|
s-Z0LS
©
a
)
|
i
@
W930
a
ee
Tg
oh
of
0
ee
J
|
Lee
cleo
ems
el
[ae
6
O
ace
ee
oa
eee
|
(AINO
NOISY3SA
9)
dWV
NIG
(No.
1755)
27