EasyManua.ls Logo

KaVo EWL 2 - Page 14

KaVo EWL 2
24 pages
Print Icon
To Next Page IconTo Next Page
To Next Page IconTo Next Page
To Previous Page IconTo Previous Page
To Previous Page IconTo Previous Page
Loading...
12
Electric Dispenser Hoist EWL 2, 3, 4
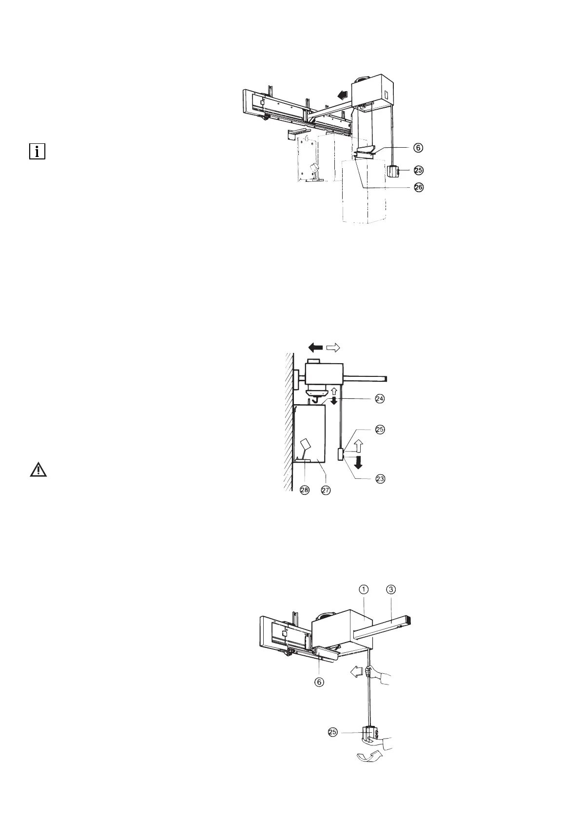
Hook the load hook 6 into the bracket h
again and raise the full plaster container to
the stop by operating the button g.
Load hook
6
with suspended pla-
ster container
j
is stopped at the
upper limit stop by an auto-matic limit
switch.
Move the carriage 1 in the direction of the
arrow to the rear limit stop.
Operate the button d to lower the plaster
container in the direction of the console k.
During the lowering process, push
the container
j
against the con-sole
k
. The container
j
must engage fully in
the supports of the console
k
.
Lower the load hook 6 to the cover f
stop. Move the carriage 1 slightly for-
wards and raise the load hook 6 to the
stop by operating the button g.
Slide the carriage 1 up to the limit stop on
the guide rail 2. Raise the load arm 3 and
move it to the left into the parking position.

Related product manuals