EasyManua.ls Logo

KaVo EWL 2 - Operation

KaVo EWL 2
24 pages
Print Icon
To Next Page IconTo Next Page
To Next Page IconTo Next Page
To Previous Page IconTo Previous Page
To Previous Page IconTo Previous Page
Loading...
A 8 Operation
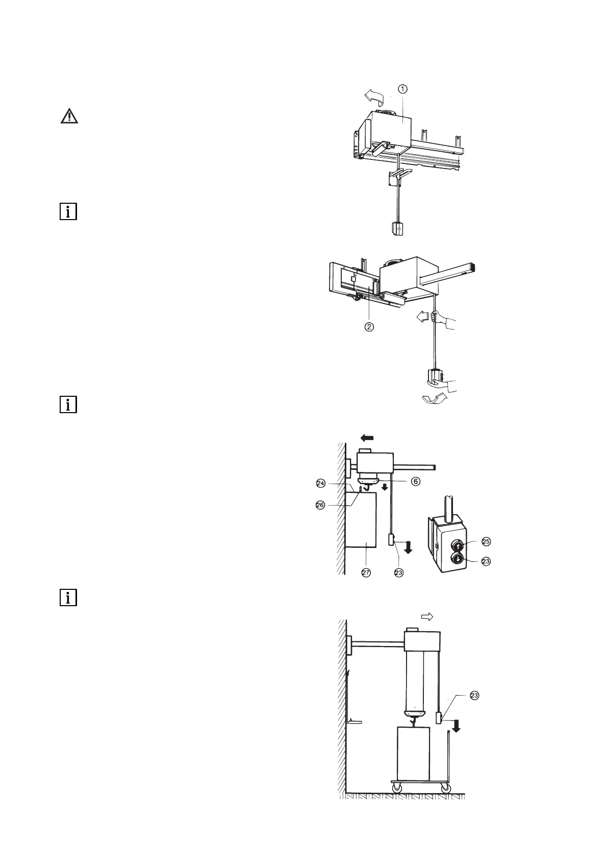
The maximum loading capacity is 500 N !
Do not exceed this limit on any account!
• Use only in accordance with regulations!
• Do not step under raised load or carriage
3
!
The Silolift can be operated by one
person!
Swivel out the carriage 1 and load arm 3
in the direction of the arrow up to the limit
stop on the guide rail. Slide the carriage 1
in the direction of the arrow up to the limit
stop on the guide rail 2.
Raise the support tube q in the direction
of the arrow and move the load arm 3
right up to the desired position.
The load arm
3
engages in the posi-
tion central to the dispenser.
Lower the load hook 6 down to the cover
stop f by operating the button d.
Raise the load hook 6 by pressing the but-
ton g thereby raising the plaster container
j to the limit stop (automatic limit off-
switching).
The load hook
6
automatically
hooks into the bracket
h
.
Move the carriage 1 forwards in the direc-
tion of the arrow and operate the button d
to lower the container j down onto the
EWL trolley or the floor.
Fill the container j with plaster.
11
Electric Dispenser Hoist EWL 2, 3, 4

Related product manuals