EasyManua.ls Logo

Keiser INFINITY 3010XP - Annual Servicing Procedures

Keiser INFINITY 3010XP
16 pages
Print Icon
To Next Page IconTo Next Page
To Next Page IconTo Next Page
To Previous Page IconTo Previous Page
To Previous Page IconTo Previous Page
Loading...
OPERATION MANUAL
PERFORMANCE TRAINER
15
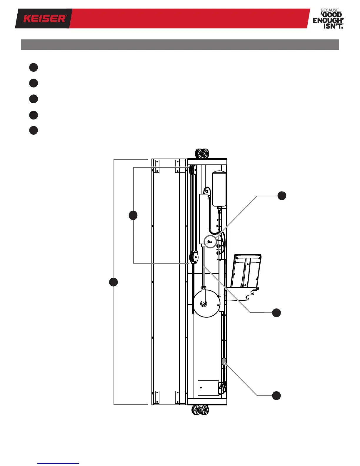
The following routine maintenance is recommended annually or at the time batteries are replaced:
1. Clean:
Wipe any accumulated dust on the interior and exterior of the Performance Trainer using a clean cloth.
2. Visual inspection of Cables (external and internal):
Ensure that the Cables have no tears/fraying.
3. Replace Mufer if discoloration is present:
Tool required: 11/16 inch (17 mm) Combination Wrench.
4. Lubricate Cylinder Rod:
Wipe the cylinder rod clean and coat lightly with clean, SAE 30 motor oil, or with a silicon-based spray.
5. Replace Air Filter if element is dirty (element turns a bright pink or red color):
Tools required: Small Needle Nose Pliers, Cutter Tool (to cut off ared end of tubes).
ANNUAL SERVICING
Figure 14. Annual Routine Maintenance
Contact Keiser Customer Support for replacement part(s) order, or for any matters regarding the safe operation of your
Performance Trainer, by telephone at 1 559 256 8000, online 24/7 at keiser.com/support, or by email at service@keiser.com.
1
2
3
4
5
To open the Performance
Trainer, remove the ve
Phillips Screws along the
left side using a #3 Phillips
screwdriver.
3
4
5
1
2

Related product manuals