EasyManua.ls Logo

Keiser INFINITY 3010XP - Operating the Performance Trainer

Keiser INFINITY 3010XP
16 pages
Print Icon
To Next Page IconTo Next Page
To Next Page IconTo Next Page
To Previous Page IconTo Previous Page
To Previous Page IconTo Previous Page
Loading...
OPERATION MANUAL
PERFORMANCE TRAINER
07
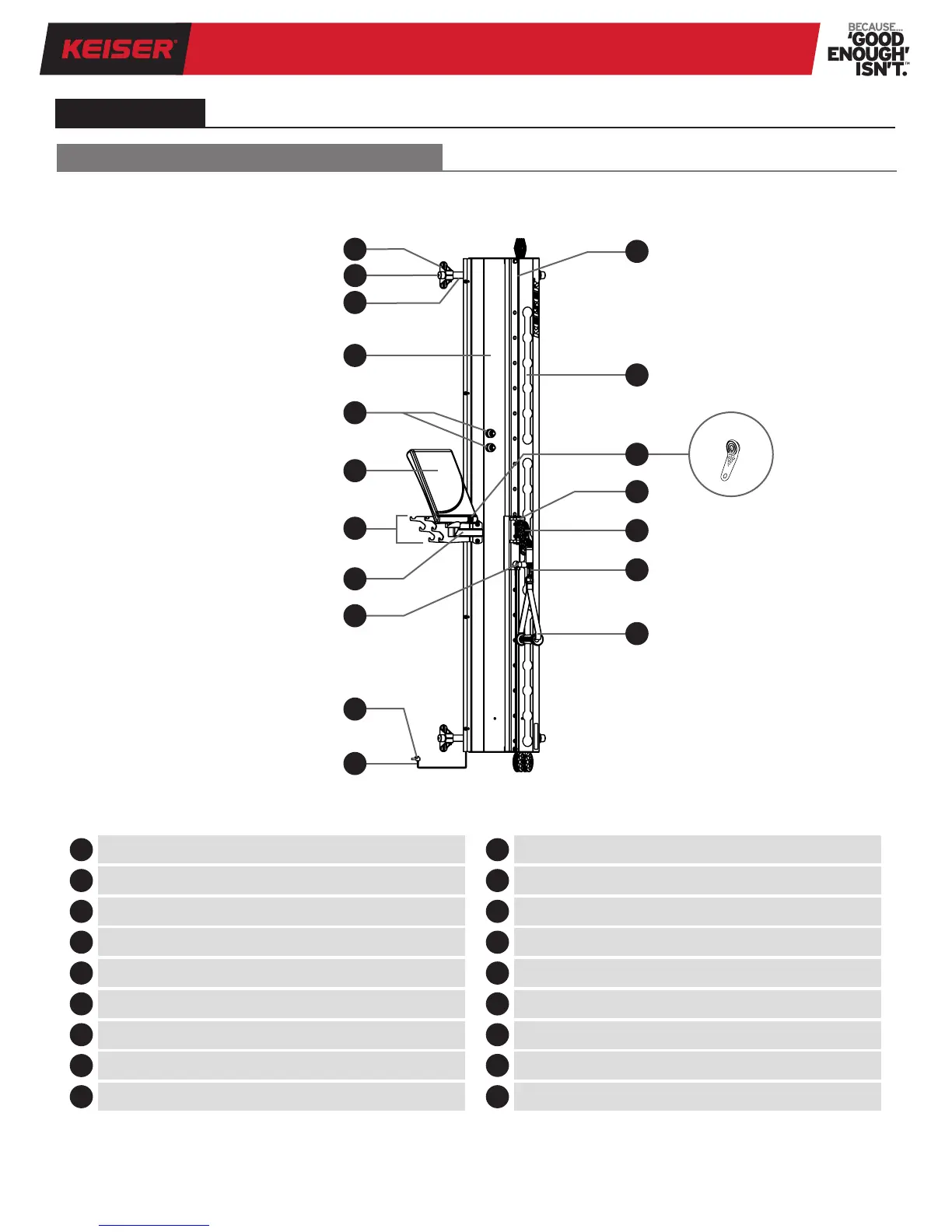
Figure 4. Performance Trainer
PERFORMANCE TRAINER OVERVIEW
3
Brace Clamps
Cable
Vertical Adjustment Settings
Power Display
Tube Caps
Keiser eChip
Accessory Hooks
Air Line
Mount Tubes
Vertical Adjustment
Performance Trainer Body
Pulley Carriage
Cable Link
Handle
Increase/Decrease (+/-) Thumb Buttons
1 10
5
15
2 11
6
16
17
18
3 12
13
7
4
14
Quick Disconnect
Display Mount
Adjustment Plunger
8
9
1
2
3
4
5
6
7
8
9
10
11
12
16
15
14
13
17
18
OPERATION

Related product manuals