EasyManua.ls Logo

kenro SPEEDFLASH KFL101 - Exposure Control and Bracketing; Setting Flash Exposure Compensation; FEB Setting Value

kenro SPEEDFLASH KFL101
38 pages
Print Icon
To Next Page IconTo Next Page
To Next Page IconTo Next Page
To Previous Page IconTo Previous Page
To Previous Page IconTo Previous Page
Loading...
13
The compensation range can be set from -3.0EV to +3.0EV in the
following increments:
-3.0EV > -2.7EV > -2.3EV > -2.0EV > -1.7EV > -1.3EV > -1.0EV >
-0.7EV > -0.3EV > 0EV > +0.3EV > +0.7EV > +1.0EV > +1.3EV >
+1.7EV > +2.0EV > +2.3EV > +2.7EV > +3.0EV
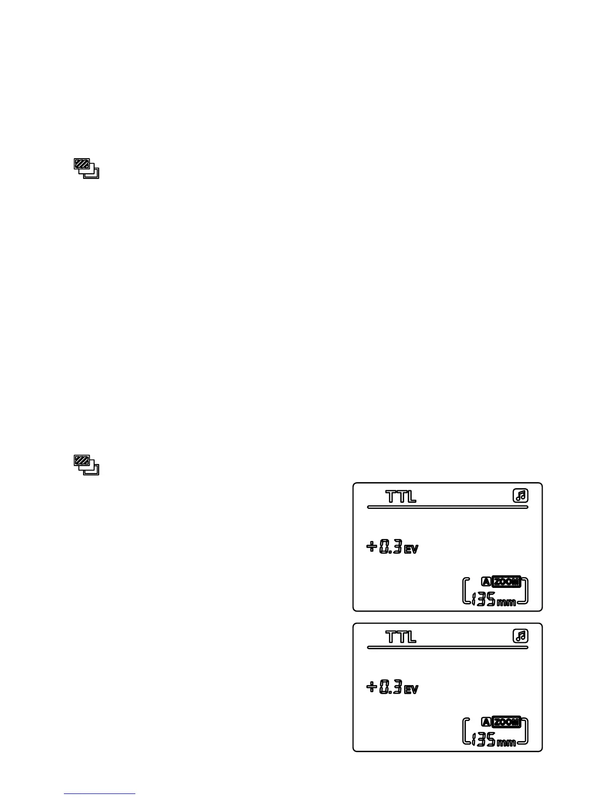
FEB setting value
In FEB (Flash Exposure Bracketing) mode, you can control the
exposure in 0.3 stop increments to +/-3EV. You can then take 3
pictures with a different exposure setting for each (if ash exposure
compensation is set with both the speedash and camera, the
speedash’s ash exposure compensation setting will override the
camera’s). The 3 pictures can be adjusted up to 3 stops either side
of the original EV setting in 0.3 stop increments. After the third
photograph, the setting is automatically reset to the starting EV
value.
When using FEB, set the camera to ‘single shot’ mode and ensure the
ash pilot light is on and the ash is ready before taking a picture.
When mounted on a Canon camera, exposure values are set on the
ash; when mounted on a Nikon camera the exposure information is
not shown on the ash and must be set on the camera body. Refer to
your camera owner’s manual for further details.
FEB setting surrounded by exposure value (Canon
cameras only)
To use the exposure bracketing function,
rst ensure that the ashgun is mounted
on the camera and is in E-TTL mode.
Press the up and down buttons to set
the exposure bracketing value, then
press left and right to increase or
decrease the EV compensation
start point.
For example, with the exposure
bracketing value set to +2.0, and the EV
compensation start point set to -1.0 stop,
the camera will take three photographs
at -3.0, -1.0 and +2.0 respectively,
giving you the two stops either side of
the start value, as requested.