EasyManua.ls Logo

Kenwood SP-430 - Scanned-image-68-0

Kenwood SP-430
116 pages
Print Icon
To Next Page IconTo Next Page
To Next Page IconTo Next Page
To Previous Page IconTo Previous Page
To Previous Page IconTo Previous Page
Loading...
J 
L 
p  
( F)

(81)


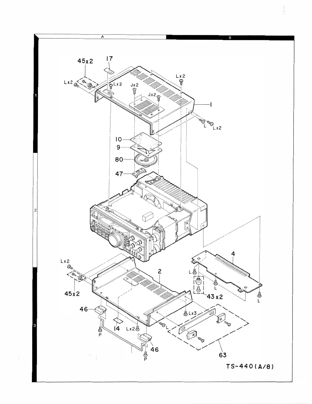
DISASSEMBL y

  44

  
 
 
  

 

TS-440
S

700  
81

Table of Contents