EasyManua.ls Logo

Kenwood SP-430 - Scanned-image-69-0

Kenwood SP-430
116 pages
Print Icon
To Next Page IconTo Next Page
To Next Page IconTo Next Page
To Previous Page IconTo Previous Page
To Previous Page IconTo Previous Page
Loading...
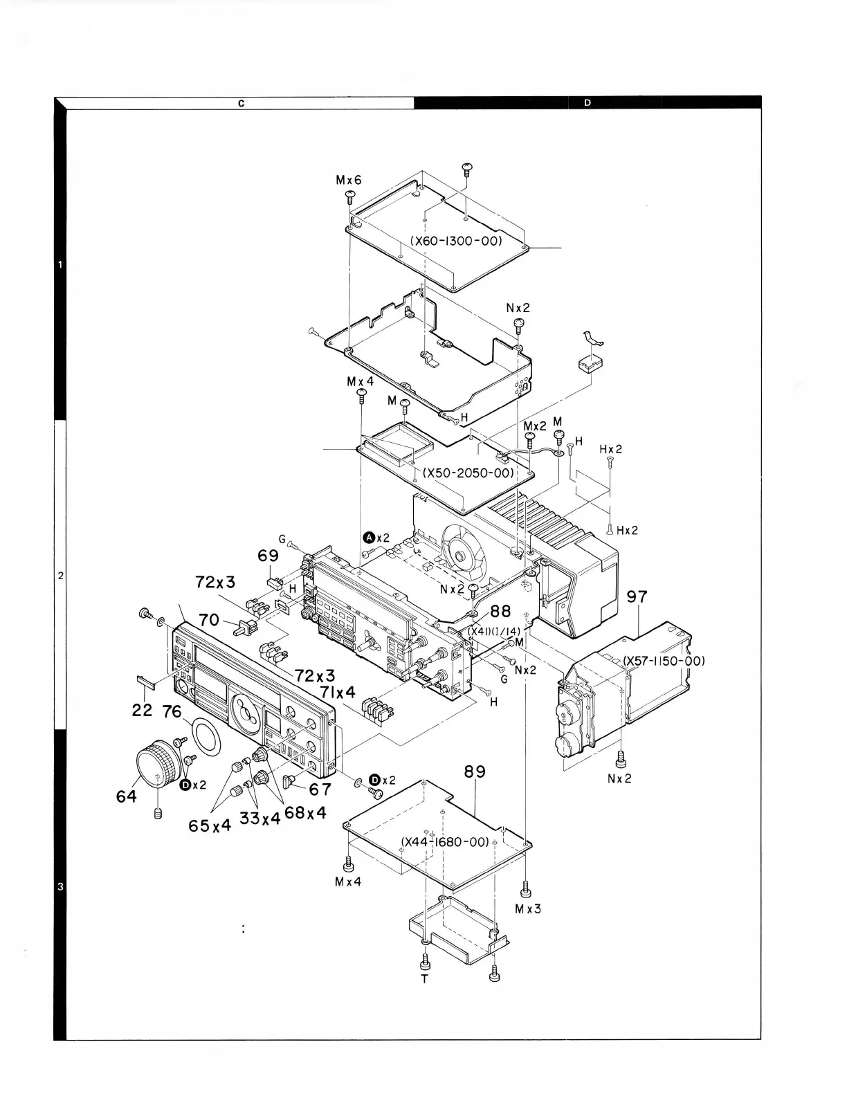
TS-4408
82
 3
󰇽 
󰇽 
G 
H 


 
 





󰇽
󰇽
9
1
  
  
 
 
 
 

  
DISASS
EMBL y



IX�0-130
98

 

 
 
󰇽 

 

Table of Contents