EasyManua.ls Logo

Kinco CD432S - Chapter 9 Communication; 9.1 Transport Protocol

Kinco CD432S
111 pages
Print Icon
To Next Page IconTo Next Page
To Next Page IconTo Next Page
To Previous Page IconTo Previous Page
To Previous Page IconTo Previous Page
Loading...
103
Chapter 9 Communication
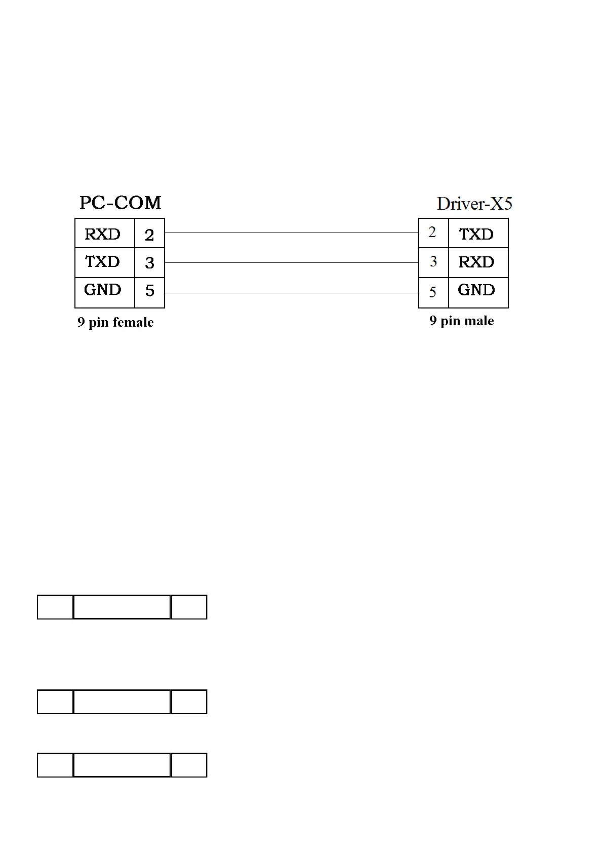
A CD2S servo driver has the RS232 communication interface, which directly controls the working of the
servo driver with the operation software of a host computer. If the servo driver needs to communicate with a
Programmable Logic Controller (PLC) or other controllers via the free RS485 communication interface, an
RS232 to RS485 converter should be added on the driver side.
Fig. 9-1 Communication cables between a PC and a CD2S servo driver
9.1 Transport Protocol
The RS-232C communication of the CD2S servo driver strictly follows a master/slave protocol. The host
computer can send any data to CD2S driver. The driver configured with ID No. will calculate such data and
return a reply. Default communication settings for the CD2S servo driver are as follows:
Baud rate = 38400 bps
Data bits = 8
Stop bits = 1
No parity check
The baud rate can be changed by setting d5.02, after changing the value, it is necessary to set d2.00 or d3.00
to save it and reboot the system so that it will take effect.
The transport protocol used by the RS-232 uses a data packet with fixed length of 10 bytes.
ID CHKS8 byte data
byte 0 byte 9
ID is the ID No. of the slave
CHKS =-SUM(byte0,…,byte8), CHKS is the last two digits of the calculation result.
The host sends:
ID CHKS8 byte host data
byte 0 byte 9
The slave sends/The host receives:
ID CHKS8 byte slave data
byte 0 byte 9

Table of Contents

Related product manuals