EasyManua.ls Logo

Kinco CD432S - Page 23

Kinco CD432S
111 pages
Print Icon
To Next Page IconTo Next Page
To Next Page IconTo Next Page
To Previous Page IconTo Previous Page
To Previous Page IconTo Previous Page
Loading...
23
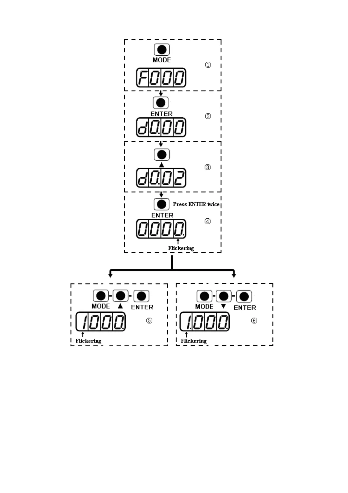
Fig. 4-3 Separate regulation of bits

Table of Contents

Related product manuals