EasyManua.ls Logo

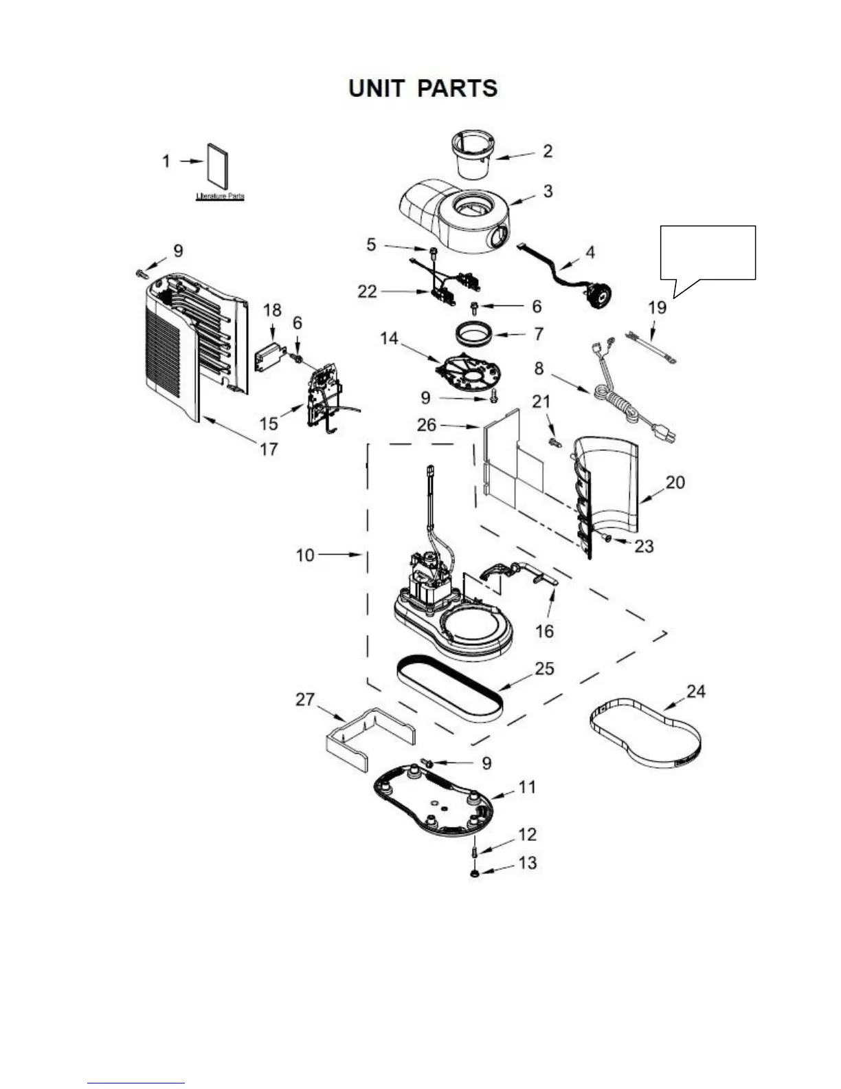
KitchenAid KSB5010 - UNIT PARTS

KitchenAid KSB5010
28 pages
Print Icon
To Next Page IconTo Next Page
To Next Page IconTo Next Page
To Previous Page IconTo Previous Page
To Previous Page IconTo Previous Page
Loading...
- 4 -

Related product manuals