EasyManua.ls Logo

KitchenAid KSCS25FKSS00 - Wiring Diagrams and Support; Wiring Diagrams and Strip Circuits

KitchenAid KSCS25FKSS00
63 pages
Print Icon
To Next Page IconTo Next Page
To Next Page IconTo Next Page
To Previous Page IconTo Previous Page
To Previous Page IconTo Previous Page
Loading...
7-1
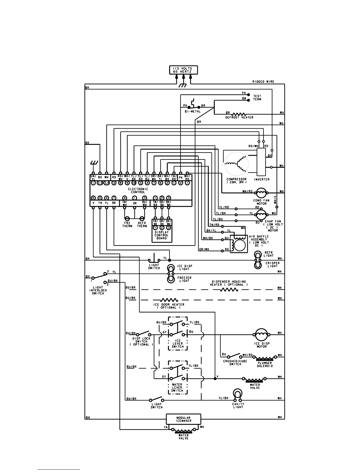
WIRING DIAGRAMS & STRIP CIRCUITS
WIRING DIAGRAM

Other manuals for KitchenAid KSCS25FKSS00

Related product manuals