EasyManua.ls Logo

KStar GP810 - Page 16

KStar GP810
38 pages
Print Icon
To Next Page IconTo Next Page
To Next Page IconTo Next Page
To Previous Page IconTo Previous Page
To Previous Page IconTo Previous Page
Loading...
INSTALLATION GP800 UPS
- 14 -
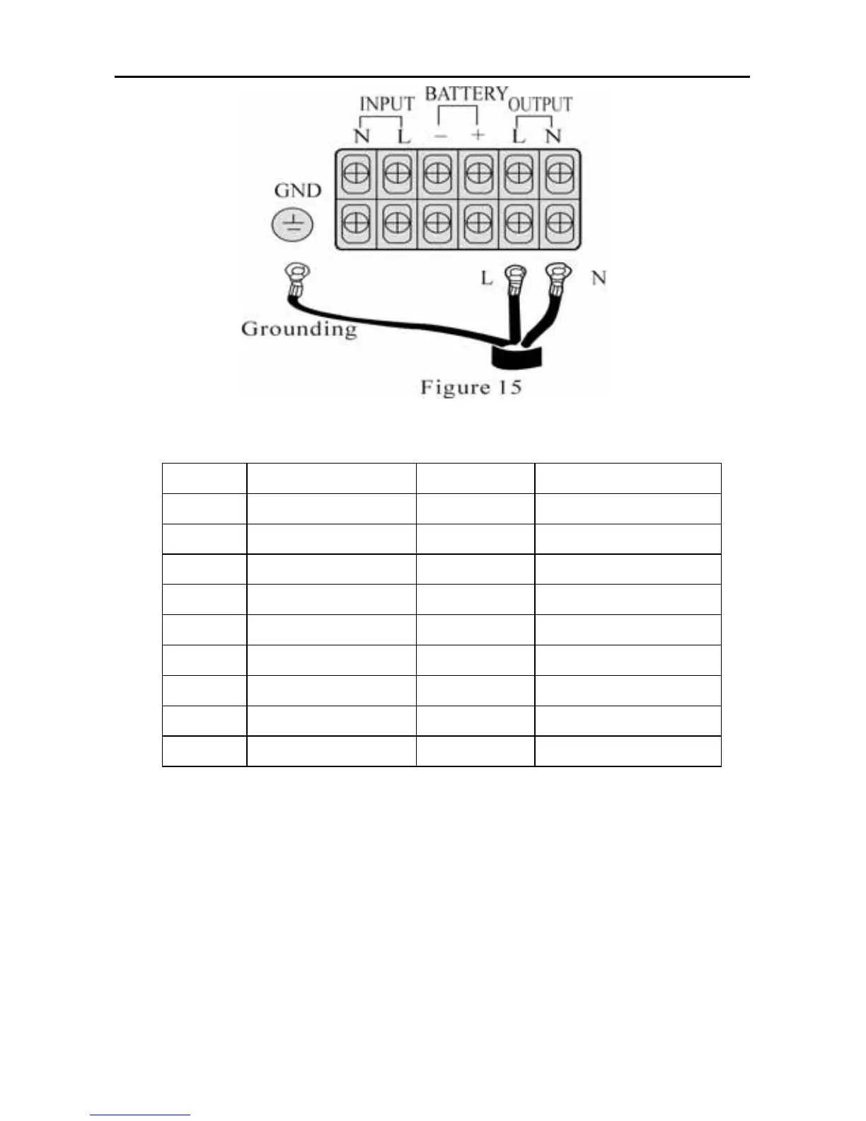
3. Output power cable is designed according to load current, do not use
over-thin cable. Please refer to Table 2
Model Max. output current Output cable Terminal specification
GP801 4A 12AWG 5.5~6
GP802 8A 10AWG 5.5~6
GP803 12A 10AWG 5.5~6
GP804 16A 10AWG 5.5~6
GP805 20A 10AWG 5.5~6
GP806 24A 10AWG 5.5~6
GP808 32A 8AWG 8.5~9
GP810 40A 8AWG 8.5~9
GP812 48A 8AWG 8.5~9
Table 2
4. Avoid short-circuit and overload.
5. The comparison between output current rating and output cable size is
listed in Table 2.
6. The ground to this unit only acts as reference point, if the ground isn’t
good, that may cause disturbance and false datum management, and
affect UPS and computer, please ask professional personnel for handling
immediately.
7. User offers a good grounding system.

Related product manuals