EasyManua.ls Logo

KTM 250 SX 2021 - Checking the Static Sag of the Shock Absorber; Checking the Riding Sag of the Shock Absorber

KTM 250 SX 2021
135 pages
Print Icon
To Next Page IconTo Next Page
To Next Page IconTo Next Page
To Previous Page IconTo Previous Page
To Previous Page IconTo Previous Page
Loading...
TUNING THE CHASSIS 10
37
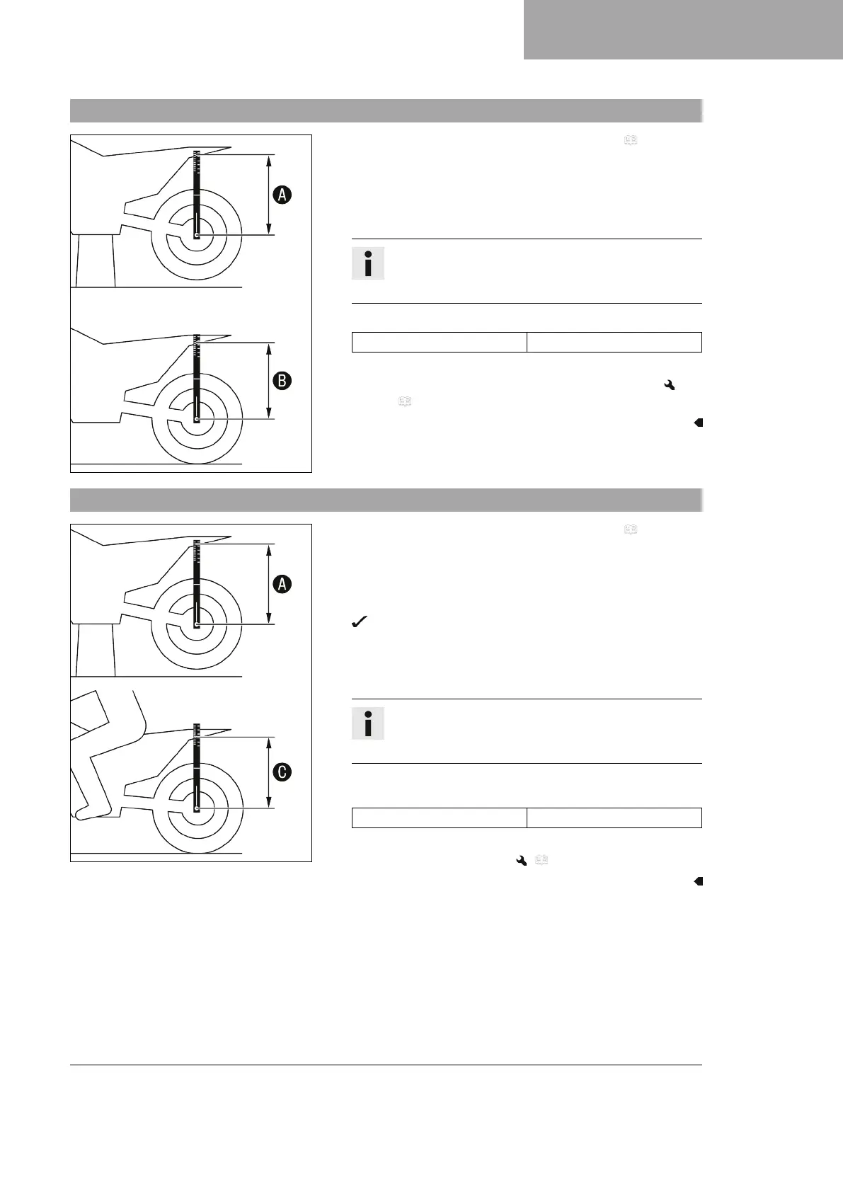
10.8 Checking the static sag of the shock absorber
402416-10
Measure dimension
A
of rear wheel unloaded. ( p. 36)
Hold the motorcycle upright with aid of an assistant.
Measure the distance again between the rear axle and mark-
ing SAG on the rear fender using the sag gage.
Note the value as dimension
B
.
Info
The static sag is the difference between
measurements
A
and
B
.
Check the static sag.
Static sag 35 mm (1.38 in)
» If the static sag is less or more than the specified value:
Adjust the spring preload of the shock absorber.
( p. 38)
10.9 Checking the riding sag of the shock absorber
402417-10
Measure dimension
A
of rear wheel unloaded. ( p. 36)
With another person holding the motorcycle, the rider, wear-
ing full protective clothing, sits on the seat in a normal sitting
position (feet on footrests) and bounces up and down a few
times.
The rear wheel suspension levels out.
Another person again measures the distance between the rear
axle and marking SAG on the rear fender using the sag gage.
Note the value as dimension
C
.
Info
The riding sag is the difference between
measurements
A
and
C
.
Check riding sag.
Guideline
Riding sag 105 mm (4.13 in)
» If the riding sag differs from the specified measurement:
Adjust the riding sag. ( p. 39)

Table of Contents

Related product manuals