EasyManua.ls Logo

Kyocera FS-C5100DN - Page 129

Kyocera FS-C5100DN
176 pages
Print Icon
To Next Page IconTo Next Page
To Next Page IconTo Next Page
To Previous Page IconTo Previous Page
To Previous Page IconTo Previous Page
Loading...
2HL/2HM/2HN
2-1-3
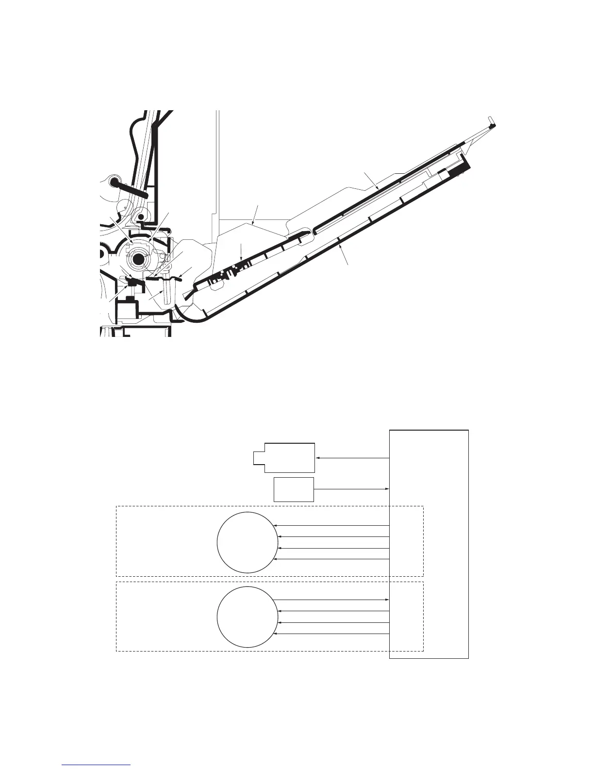
(2) MP tray paper feed section
XXXXXXXXXXXXXXXXXXXXXXXXXXXXXXXXXXXXXXXXXXXXXXXXXXXXXXXXXXXXXXXXXXXXXXXXXXXXXXXX
XXXXXXXXXXXXXXXXXXXXXXXXXXXXXXXXXXXXXXXXXXXXXXXXXXX
Figure 2-1-3 MP tray paper feed section
Figure 2-1-4 MP tray paper feed section block diagram
4
5
8
10
9
11
2
3
7
6
1
(1) MP paper feed roller
(2) MPF separation pad
(3) MPF separator
(4) MPF bottom plate
(5) MPF friction pad
(6) MP tray sensor
(7) Actuator (MP tray sensor)
(8) MPF guide R/L
(9) MPF base
(10) MPF upper tray
(11) MPF cover
MPSOLDRN
MP paper
feed solenoid
Paper feed motor
Paper feed motor
Engine PWB
YC40-2
FEMOTRDYN
SPEEDSEL
FECLKCLK
YC3-1
YC3-2
YC3-3
REMOTREN
YC3-4
STFEAN
STFEB
YC4-1
YC4-2
YC4-3
STFEA
STFEBN
YC4-4
MP tray
sensor
MPHANDS
YC21-6
21/23 ppm (500-sheet) model
26/28 ppm (500-sheet) model
21/23 ppm (250-sheet) model

Other manuals for Kyocera FS-C5100DN

Related product manuals