EasyManua.ls Logo

LabelMill LM1012 - Page 30

LabelMill LM1012
56 pages
Print Icon
To Next Page IconTo Next Page
To Next Page IconTo Next Page
To Previous Page IconTo Previous Page
To Previous Page IconTo Previous Page
Loading...
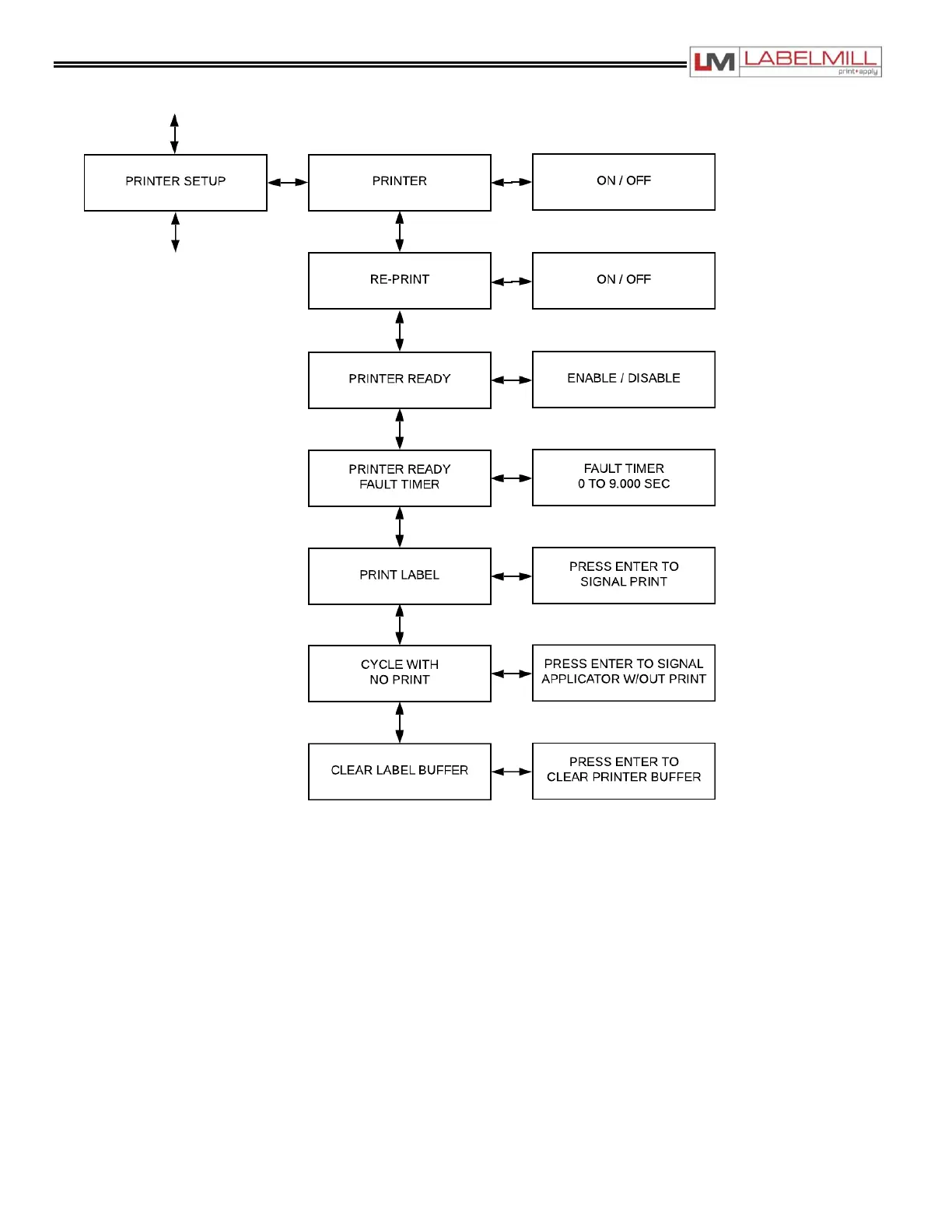
LM1012TTS Table-Top Label Applicator System
USER'S MANUAL
Made in the U.S.A.
© 2022 LABELMILL
01/01/2022 Model LM1012TTS
Page 30