EasyManua.ls Logo

Lauda Integral T 2200 - Starting up; Level 0 (base menu) and level 1

Default Icon
108 pages
Print Icon
To Next Page IconTo Next Page
To Next Page IconTo Next Page
To Previous Page IconTo Previous Page
To Previous Page IconTo Previous Page
Loading...
Integral T process thermostats
34 Starting up YAWE 0026 / 21/01/2019
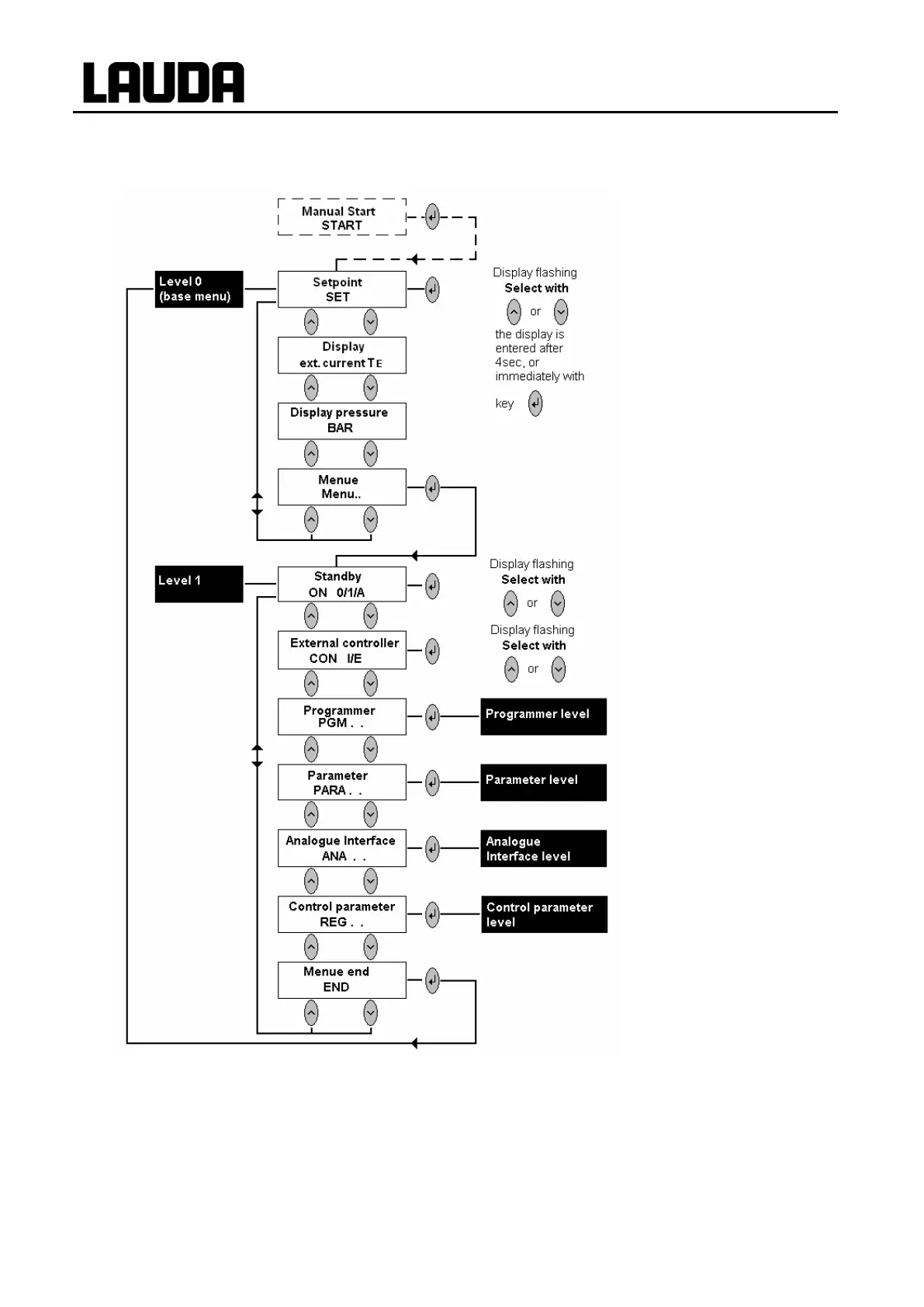
7.5 Level 0 (base menu) and level 1
Section 7.6.3
Section 7.6.4
Section 7.6.5
Section 7.6.6

Table of Contents

Related product manuals