EasyManua.ls Logo

Lauda Integral T 2200 - Submenu Calibration (ANA)

Default Icon
108 pages
Print Icon
To Next Page IconTo Next Page
To Next Page IconTo Next Page
To Previous Page IconTo Previous Page
To Previous Page IconTo Previous Page
Loading...
Integral T process thermostats
21/01/2019 / YAWE 0026 Starting up 69
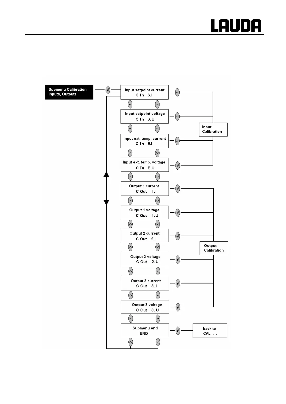
7.6.5.3 Submenu Calibration (ANA)
In order to avoid undesirable operating conditions only the selected channel is switched on during
calibration. All others are switched off. After calibration has been completed the previous status (inputs/
outputs ON/ OFF) is restored.

Table of Contents

Related product manuals