EasyManua.ls Logo

Leica RM2155 - Core Operation and Controls; Control Panel Layout and Functions

Leica RM2155
54 pages
Print Icon
To Next Page IconTo Next Page
To Next Page IconTo Next Page
To Previous Page IconTo Previous Page
To Previous Page IconTo Previous Page
Loading...
19Leica RM 2155  Rotary Microtome
8. Operation
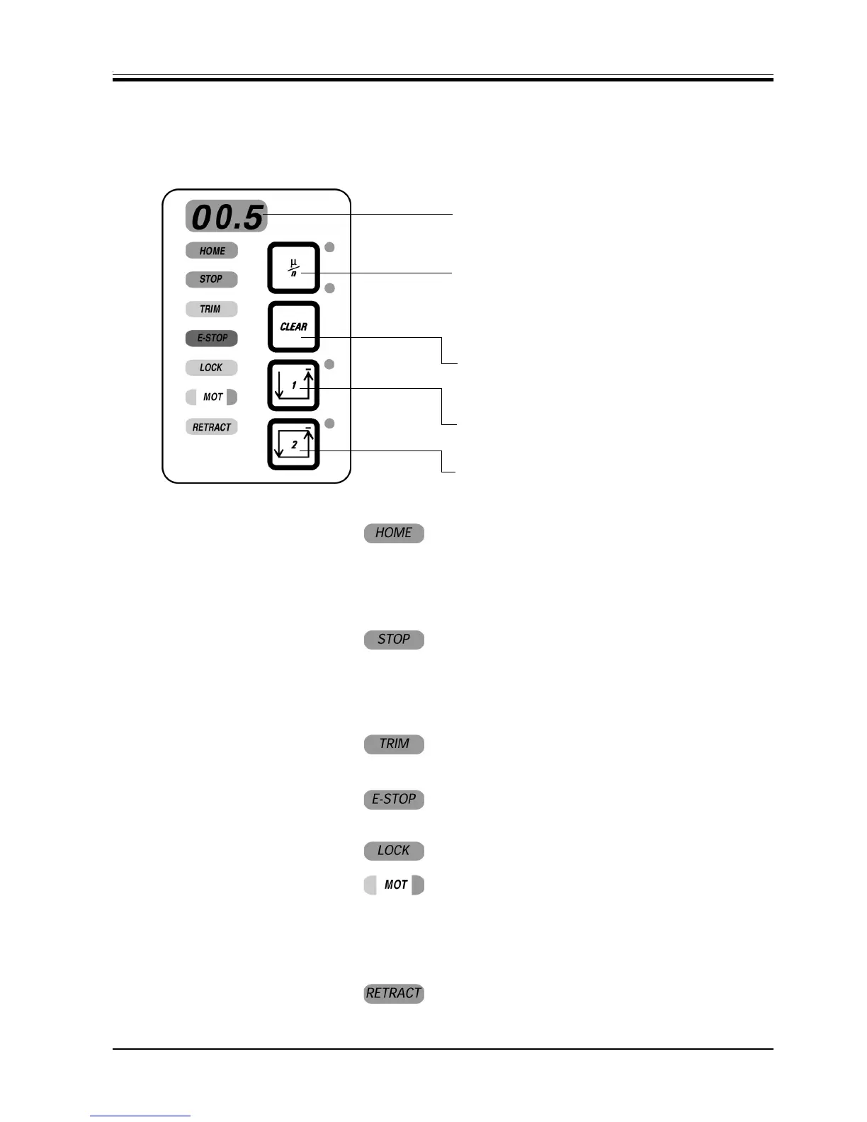
8.1 Control panel
LED for section thickness, trimming thickness, sec-
tion count, software version, retraction menu (see
'Specimen retraction'), operator errors and error mes-
sages.
µ / n key:
Upper LED -> Section thickness indication (µ)
Lower LED -> Section count indication (n)
Viewing retraction menu and indication of the adjusted
value
CLEAR key
Section counter reset
Viewing/quit the retraction menu
Sectioning mode 1: Single stroke
LED illuminates when activated.
Sectioning mode 2: Continuous stroke
LED illuminates when activated.
LEDs
HOME (green) flashes while the coarse feed but-
ton is held down to move the specimen away from
the knife.
HOME illuminates on reaching the rear limit (HOME
position).
STOP (green) flashes while the coarse feed button
is held down to move the specimen towards the
knife.
STOP illuminates when reaching the remaining feed
point (approx. 1 mm before the actual front limit).
TRIM (yellow) illuminates when the TRIM function
is activated.
E-STOP (red) illuminates when the emergency-stop
is activated.
LOCK (yellow) illuminates when the handwheel is
locked.
MOT (yellow) illuminates while the sectioning mo-
tor is active.
MOT (yellow and green) illuminate during section-
ing before the motor stops in the upper limit.
MOT (green) illuminates when the motor is active.
RETRACT (yellow) illuminates while the specimen
is in the retracted position if the specimen retrac-
tion is activated.
Fig. 19

Related product manuals