EasyManua.ls Logo

Lenovo H430 - Replacing the Heatsink Assembly

Lenovo H430
57 pages
Print Icon
To Next Page IconTo Next Page
To Next Page IconTo Next Page
To Previous Page IconTo Previous Page
To Previous Page IconTo Previous Page
Loading...
41
User Guide
Replacing the heatsink assembly
Attention: Do not remove the computer cover or attempt any repair
before reading the “Important safety information” in the Safety and
Warranty Guide that was included with your computer or in the Hardware
Maintenance Manual (HMM) for the computer. To obtain copies of the
Safety and Warranty Guide or HMM,gototheSupportWebsiteat:
http://support.lenovo.com
To replace the heatsink assembly:
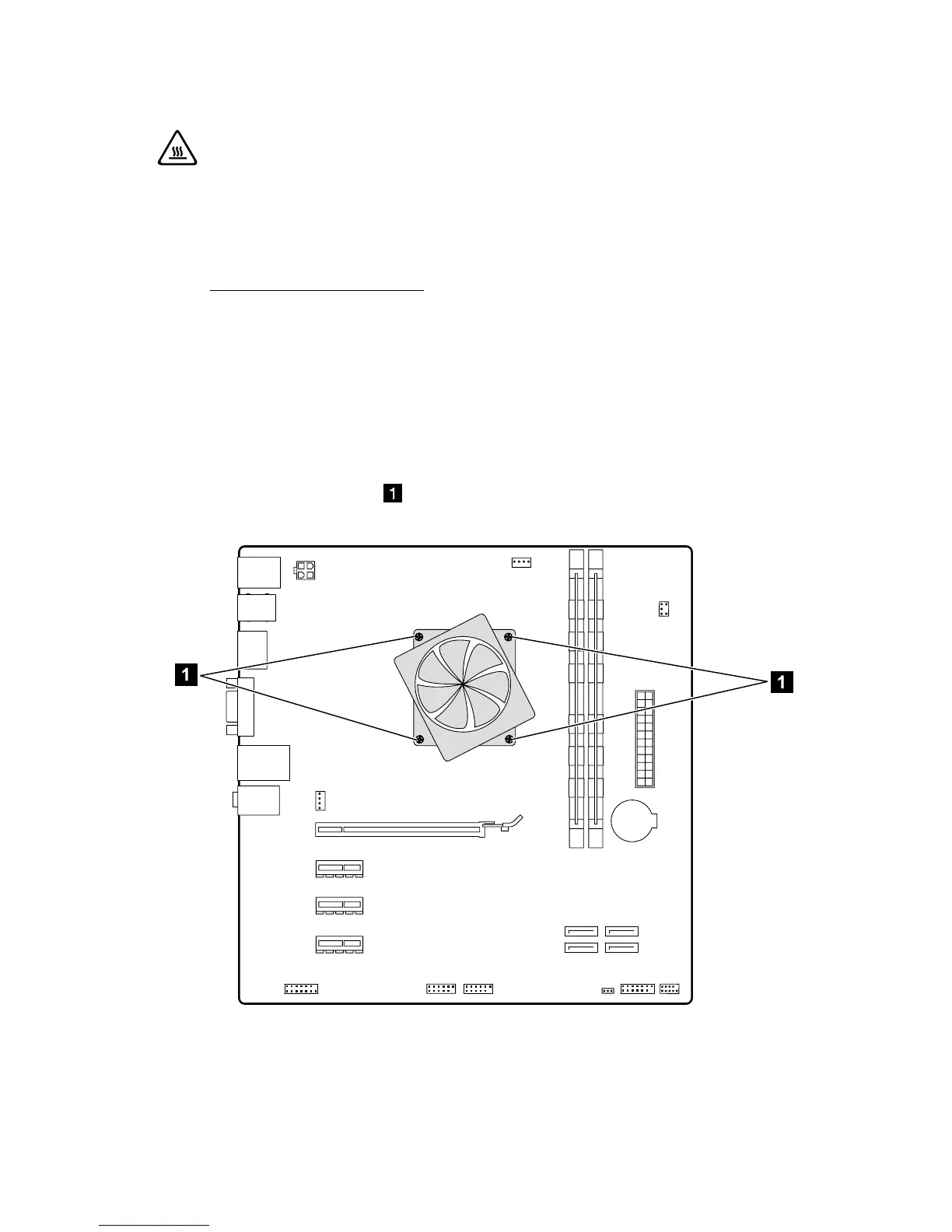
1. Remove the computer cover. Refer to “Removing the computer cover”.
2. Lay the computer on its side.
3. Locate the heatsink. Refer to “Identifying parts on the system board”.
4. Disconnect the heatsink and the fan assembly cable from the system board.
5. Remove the four screws
securing the heatsink and fan assembly to the
system board.
6. Lift the failing heatsink and fan assembly off the system board.

Other manuals for Lenovo H430

Related product manuals