EasyManua.ls Logo

Lenovo IdeaCentre K430 - Replacing a Graphics Card

Lenovo IdeaCentre K430
65 pages
Print Icon
To Next Page IconTo Next Page
To Next Page IconTo Next Page
To Previous Page IconTo Previous Page
To Previous Page IconTo Previous Page
Loading...
50
User Guide
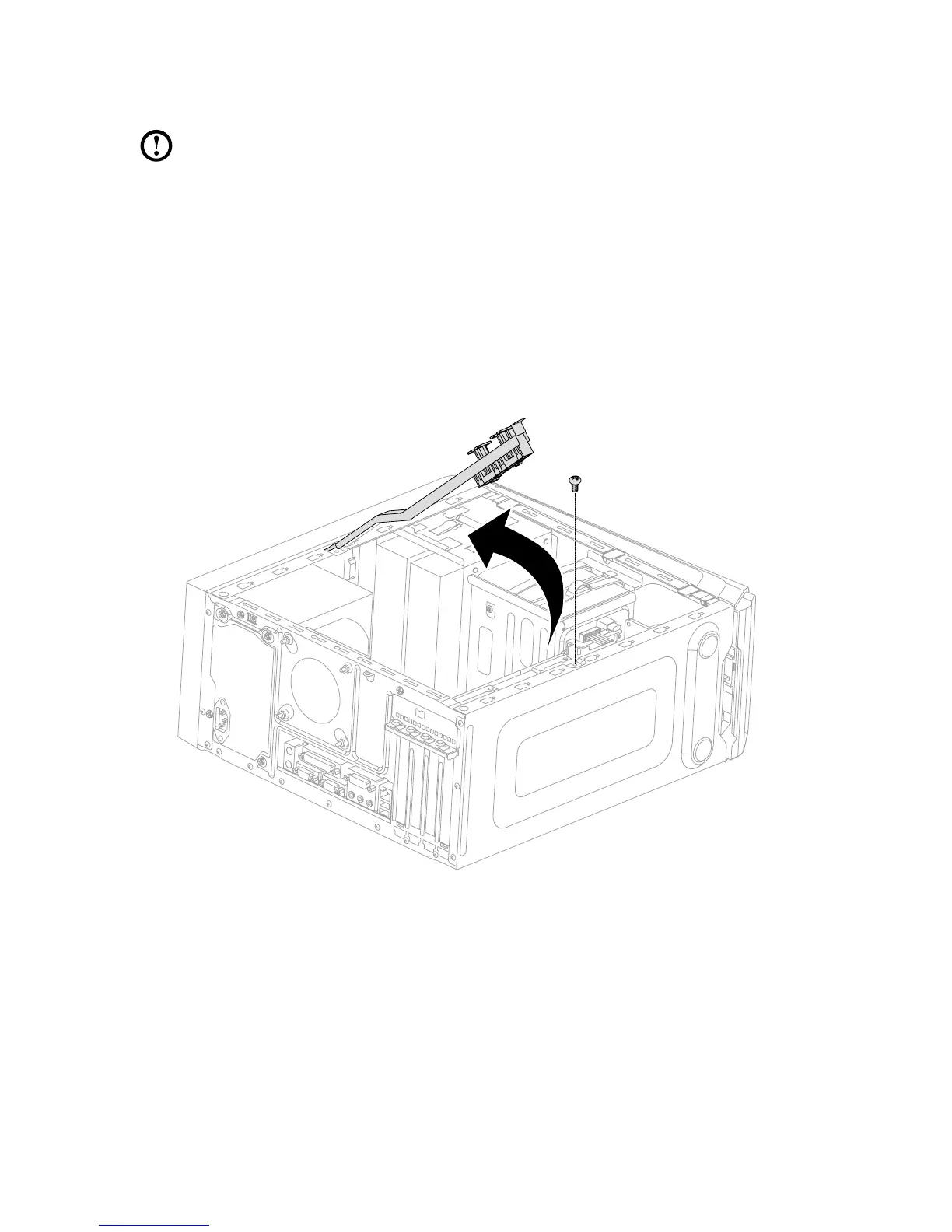
Replacing a graphics card
Note: For this procedure, it helps to lay the computer on a flat, stable
surface.
To replace a graphics card:
1. Remove the computer cover. Refer to “Removing the computer cover”.
2. Follow the below steps to remove a graphics card:
If your computer has a Duo-graphics cards installed, follow the steps
below to replace it:
a. Remove the screw that secures the Duo-graphics cards fixing bracket and
lift the bracket up.

Table of Contents

Related product manuals