EasyManua.ls Logo

Lexus LS 430 - Page 11

Lexus LS 430
29 pages
Print Icon
To Next Page IconTo Next Page
To Next Page IconTo Next Page
To Previous Page IconTo Previous Page
To Previous Page IconTo Previous Page
Loading...
LS 430
CMT - Dual band portable phone
41
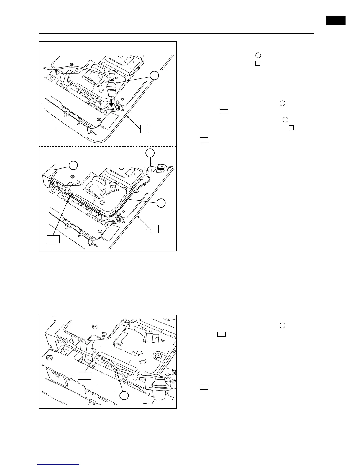
2.4 FOR LHD VEHICLE
Fit the microphone in the hole on the
overhead module as shown in the
illustration.
FOR RHD VEHICLE
Fit the microphone cord into the
hooks as shown in the illustration,
then insert the microphone into the
hole on the overhead module .
: Hook (2x)
103
3
15
103
24
3
15
2.5
a) Fit the microphone cord into the
hook as shown in the illustration,
then put the remainder into a crevice
so that it won’t be caught on the instal-
lation to the vehicle.
(The illustration is for LHD vehicle, but
it is also valid for RHD vehicle)
: Hook (2x)
b) Reinstall the overhead module to the
vehicle.
103
103
24
103
3
LHD VEHICLE
RHD VEHICLE
3
24
103

Related product manuals