EasyManua.ls Logo

LG LSDS6338F.BRSLSTD - Page 25

LG LSDS6338F.BRSLSTD
92 pages
Print Icon
To Next Page IconTo Next Page
To Next Page IconTo Next Page
To Previous Page IconTo Previous Page
To Previous Page IconTo Previous Page
Loading...
25INSTALLATION
ENGLISH
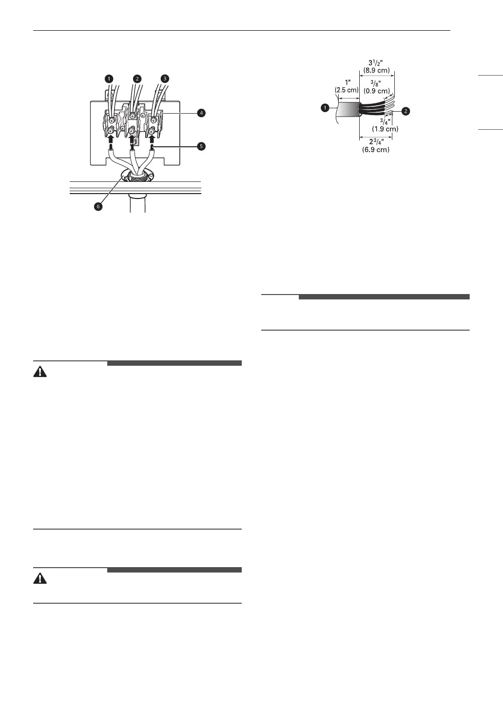
4 Tighten the 3 screws securely into the
terminal block. (approximately 35 - 50 IN-LB)
a Black
b White
c Red
d Terminal block
e Wire ends
f Conduit connection plate
4-Wire Connection: Conduit
WARNING
The white middle (neutral) wire of the power
cord or 4-wire conduit has to be connected to
the middle post of the main terminal block. The
other two wires of the power cord or conduit
have to be connected to the outside posts of the
main terminal connection block. The 4th ground
wire (green) must be connected to the frame of
the range with the ground screw. Failure to do
so can result in electrical shock, severe personal
injury or death.
If screws are not tightened securely, it can result
in electrical spark and severe personal injury or
death.
Conduit Installations
CAUTION
Do not install the conduit without a strain relief.
1 Remove the cord/conduit connection plate
from the rear of the oven and rotate it.
The conduit hole (1 1/8") must be used.
2 Prepare the conduit wires as shown below.
a Cord/Conduit connection plate
b Ground wire
3 Install the conduit strain relief.
1) Insert the strain relief in the 1 1/8 in. (2.8
cm) conduit hole.
2) Install the conduit through the body of
the strain relief and fasten the strain relief
with its ring.
NOTE
For conduit installations, purchase a strain relief.
4 Reinstall the cord/conduit connection plate.
Conduit Connections
If the wire in the conduit is copper it must be 8 or
10 AWG wiring.
If the wire in the conduit is aluminum it must be 6
or 8 AWG wiring.
1 Loosen the 2 lower left and right screws from
the terminal block. Remove the lower 2 center
screws. Do not discard any screws.
2 Remove the ground screw and bend the end
of the ground strap up so the slot is over the
hole of the center screw removed in step 1.
3 Attach the ground (green) bare wire end to
the range frame and secure it in place with
the ground screw.
4 Insert the bare wire (white/neutral) end
through the center terminal block opening.
The center screw now attaches the bent up
ground strap to the block.

Table of Contents

Related product manuals