EasyManua.ls Logo

Liebert GXT2-4500RT230 - Status Indicator LEDs

Liebert GXT2-4500RT230
40 pages
Print Icon
To Next Page IconTo Next Page
To Next Page IconTo Next Page
To Previous Page IconTo Previous Page
To Previous Page IconTo Previous Page
Loading...
Installation and Configuration
15
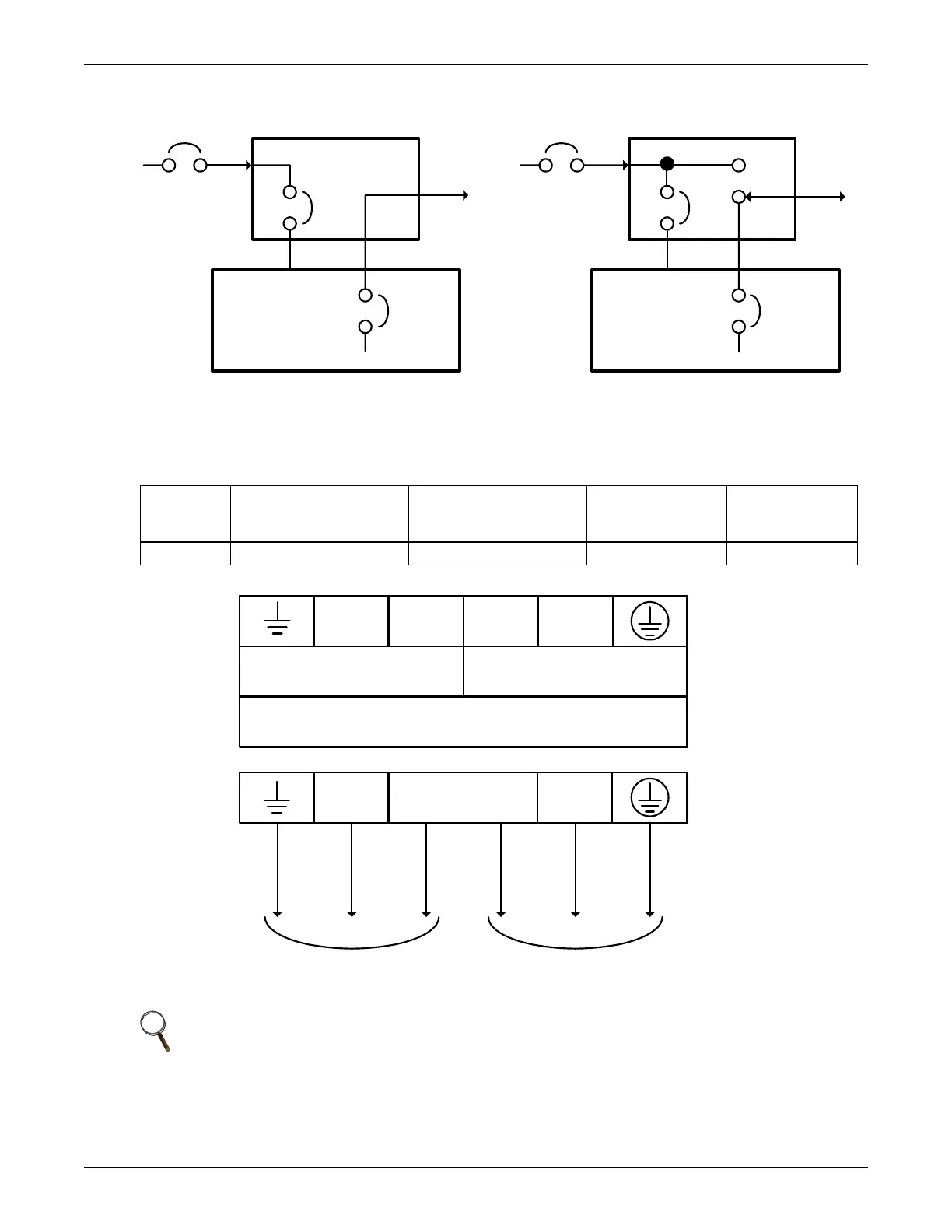
Figure 6 Distribution box electrical connections diagram
PD-CEHDWR and PD-CEHDWRBYP Terminal Block Connections
Conduit entry holes are provided on the rear and side of the box. Input and output wiring should not
share the same conduit.
Table 1 Electrical specifications
Input
Current
Rating
Recommended
(Maximum) External
Overcurrent Protection
Recommended Wire
(Including ground wire)
(758C copper wire)
Maximum Wire
Accepted by
Terminal Block
Terminal
Tightening
Torque
24A 32A 6-10mm
2
(8-10AWG) 10mm
2
(8AWG) 2.26 Nm (20 in-lb)
NOTE
1. Note1 The installer must provide circuit breaker protection according to local codes. The
mains disconnect should be within sight of the UPS or have appropriate an appropriate
lock-out. Maintain service space around the UPS or use flexible conduit.
2. Note 2 The installer must provide output distribution panels, circuit breaker protection, or
emergency disconnects according to local codes. Output circuits must not share a common
conduit with any other wiring.
Mains
Input
Output
Output
Input
CB
Input
CB
UPS
Output
CB
32A
External
Branch
CB
32A
External
Branch
CB
30 30
30 30
UPS - PFC, Battery, InverterUPS - PFC, Battery, Inverter
Byp.
Inv.
PD-CEHDWR PD-CEHDWRBYP
Mains
UPS
Output
CB
Input
NNLL
NNLL
OUTPUT INPUT
32Amp Max Branch
Overcurrent Protection
6-10mm
2
- Use Copper Wire Only
OUTPUT TO LOAD INPUT TO UPS

Table of Contents

Related product manuals