EasyManua.ls Logo

Lifetime 1044 - Installing Mounting Tube Cap and Wall Brackets

Lifetime 1044
76 pages
Print Icon
To Next Page IconTo Next Page
To Next Page IconTo Next Page
To Previous Page IconTo Previous Page
To Previous Page IconTo Previous Page
Loading...
19
SECTION 2 (CONTINUED) / SECTION 2 (SUITE) / SECCIÓN 2 (CONTINUACIÓN)
TOOLS AND HARDWARE REQUIRED / OUTILS ET QUINCAILLERIE REQUIS / INSTRUMENTAL Y HERRAJE REQUERIDOS
APN
APN
FKI
FKE
APN
APN
FKI
APN (x4)
ALM
FKE
BSF (x4)
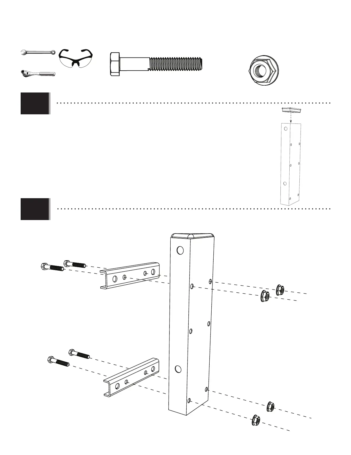
• Insert the cap (ALM) into the mounting tube (FKE).
• Insérer le capuchon (ALM) dans le tube de montage (FKE).
• Insertar el tapón (ALM) en la parte superior del tubo de montaje (FKE).
• Attach the wall mounting brackets (FKI) to the mounting tube with bolts (BSF) and nuts (APN). Tighten securely.
• Fixer les supports de montage pour le mur (FKI) au tube de montage à l'aide des boulons (BSF) et des écrous (APN). Bien serrer.
• Asegurar los soportes de montaje para el muro (FKI) al tubo de montaje con los pernos (BSF) y las tuercas (APN). Apretar bien.
BSF
BSF
BSF
BSF
2.3
2.4
1/2 in/po (≈13 mm)
(x1)
1/2 in/po (≈13 mm)
(x1)

Related product manuals