EasyManua.ls Logo

Lifetime 1044 - Rim Assembly Hardware Attachment

Lifetime 1044
76 pages
Print Icon
To Next Page IconTo Next Page
To Next Page IconTo Next Page
To Previous Page IconTo Previous Page
To Previous Page IconTo Previous Page
Loading...
34
SECTION 4 (CONTINUED) / SECTION 4 (SUITE) / SECCIÓN 4 (CONTINUACIÓN)
TOOLS AND HARDWARE REQUIRED / OUTILS ET QUINCAILLERIE REQUIS / INSTRUMENTAL Y HERRAJE REQUERIDOS
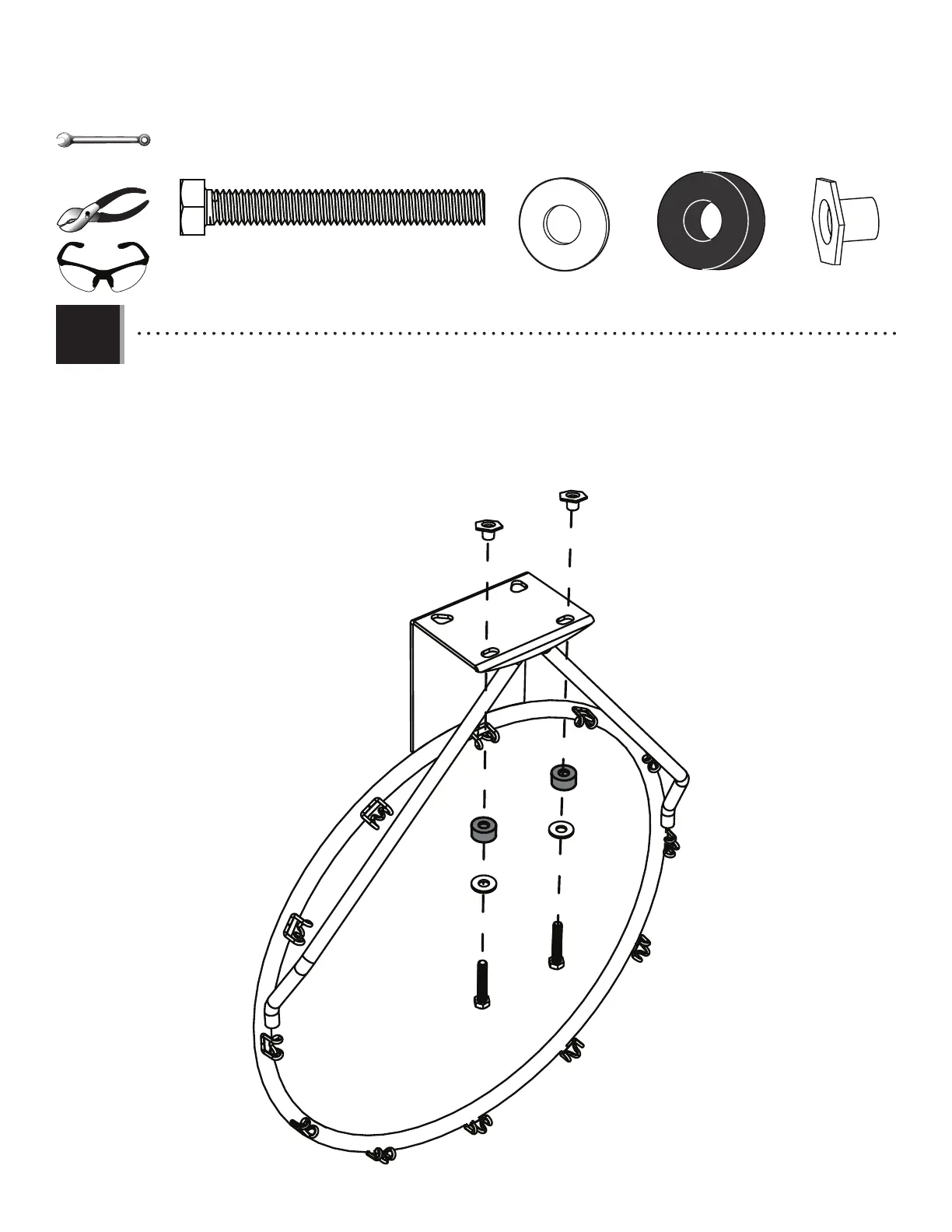
Slide two (2) washers (ABD) and two (2) rubber washers (ABF) over two (2) bolts (ABG) and insert the bolts up through the holes in the
rim (ALX), as indicated. Secure the bolts with two (2) T-nuts (AAJ). DO NOT OVERTIGHTEN the nuts.
Faire glisser deux (2) rondelles (ABD) et deux (2) rondelles en caoutchouc (ABF) sur deux (2) boulons (ABG) et insérer les boulons à travers
les trous dans l’anneau (ALX), comme indiqué. Bien fi xer les boulons avec deux (2) écrous en « T » (AAJ). NE PAS TROP SERRER les écrous.
Deslizar dos (2) rondanas (ABD) y dos (2) rondanas de goma (ABF) sobre dos (2) pernos (ABG) e insertar los pernos a través de los
agujeros en el aro (ALX), como se indica. Asegurar los pernos con las tuercas en «T» (AAJ). NO APRETAR DEMASIADO las tuercas.
ABG
ABG
ABD
ABD
ABF
ABF
AAJ
AAJ
AAJ (x2)
ABD (x2)
ABF (x2)
ABG (x2)
4.3
1/2 in/po (≈13 mm)
(x1)

Related product manuals