EasyManua.ls Logo

Linde H 70 D - Steering Stop Adjustment

Linde H 70 D
282 pages
Print Icon
To Next Page IconTo Next Page
To Next Page IconTo Next Page
To Previous Page IconTo Previous Page
To Previous Page IconTo Previous Page
Loading...
Service Training
Section 4.4
Page 13
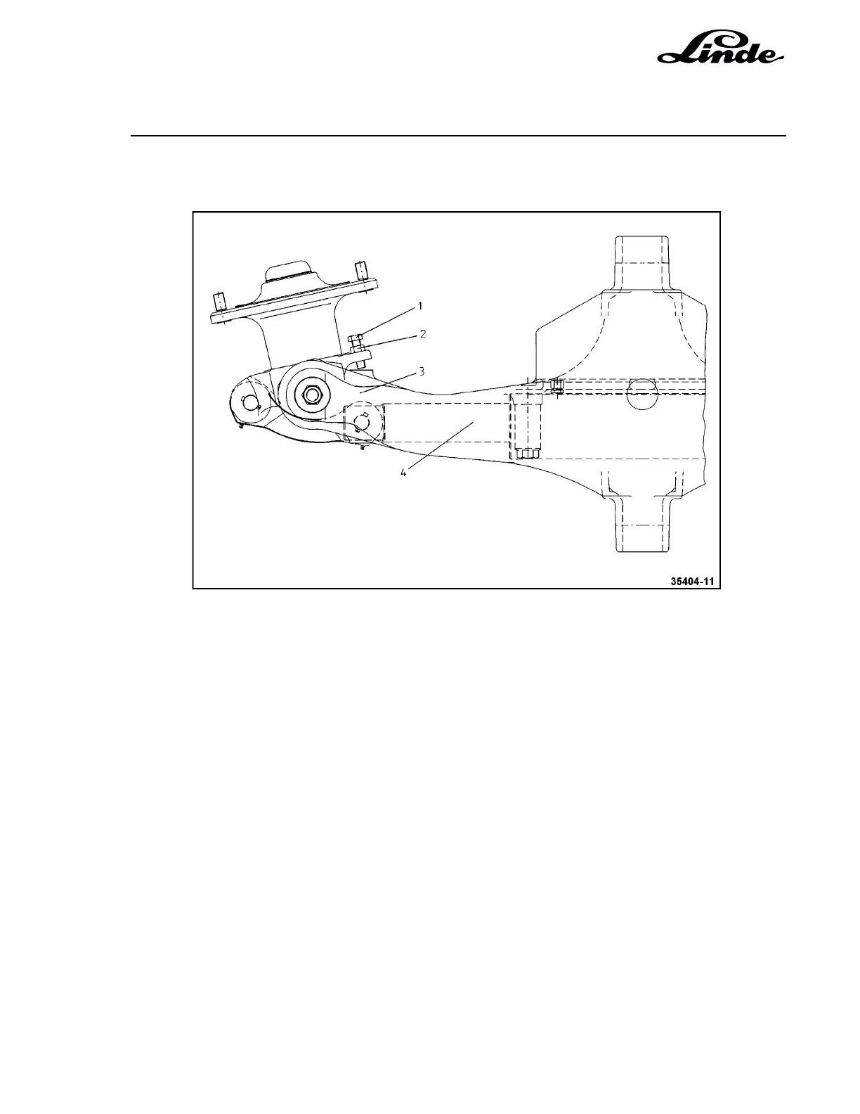
4.4.4.5 STEERING STOP ADJUSTMENT
1 Stop screw
2 Locknut
3 Axle body
4 Steering cylinder
To prevent damage to the hydraulic cylinder, check and adjust, if necessary, the left and right-hand steering
stop after repairing a steering knuckle, track rod or steering cylinder.
- Loosen the locknut (2) and screw out the M12x60 stop screw (1) approximately 10 turns.
- Start the engine and turn the steering wheel until the hydraulic cylinder is fully extended.
- Screw in the stop screw until it contacts the axle (3).
- Turn the steering wheel until the steering cylinder (4) is centred, screw in the stop screw (1) 2 to 3 turns
and lock it with the nut (2).
NOTE: Adjust the steering stop on the other side as described above.

Table of Contents

Related product manuals