EasyManua.ls Logo

Linde H 70 D - Page 267

Linde H 70 D
282 pages
Print Icon
To Next Page IconTo Next Page
To Next Page IconTo Next Page
To Previous Page IconTo Previous Page
To Previous Page IconTo Previous Page
Loading...
Service Training
Section 4.9
Page 41
12.05
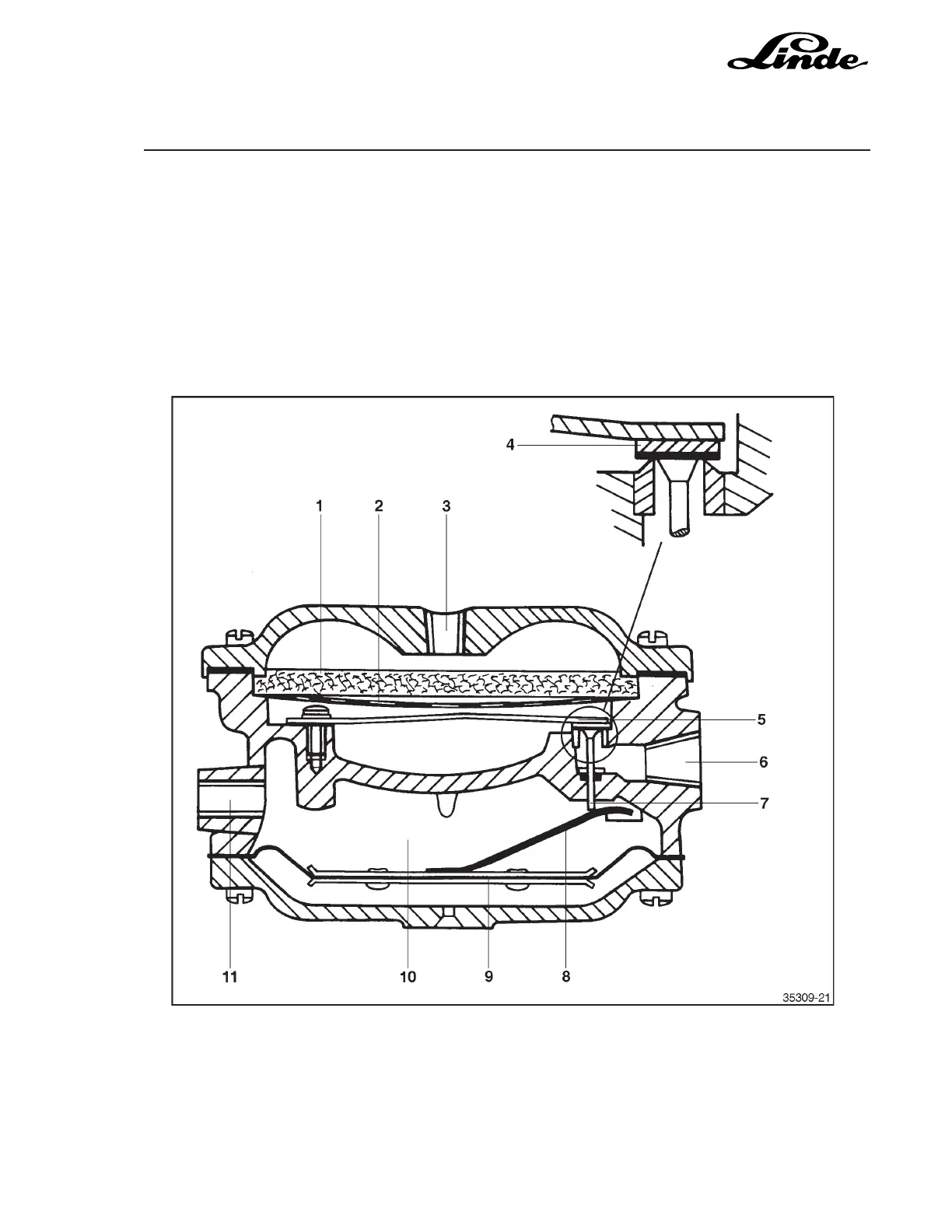
FUNCTIONING OF THE VACUUM-CONTROLLED SHUTOFF VALVE
When the engine is off, the shutoff valve is in closed position. No LPG can flow to the vaporisor. When the
engine is started, a vacuum is present in the intake section, which develops through the intake stroke of the
engine. This vacuum is passed through a tube connection from the mixer via connection (11) to the top of
the diaphragm (9) in the shutoff valve. The pressure difference between the top and bottom of the diaphragm
(9) creates an upward displacement of the diaphragm. The diaphragm (9) thereby activates the lever (8)
which acts on the valve shaft (7). The valve shaft (7) is displaced upwards and thereby opens the plate valve
(4) against the initial tension of the leaf spring (5). LPG can now flow through the filter plate (1) to the vaporisor.
6 LPG outlet, filtered
7 Valve shaft
8 Diaphragm lever, to open valve
9 Diaphragm
10 Vacuum space
11 Vacuum inlet from mixer
1 Filter plate
2 Supporting plate, perforated
3 LPG intake
4 Plate valve
5 Leaf spring, to shut valve

Table of Contents

Related product manuals