EasyManua.ls Logo

Loctite 97102 - Refilling the Product Reservoir; Product Reservoir with Low Level Sensor (Automatic Reservoir)

Loctite 97102
Print Icon
To Next Page IconTo Next Page
To Next Page IconTo Next Page
To Previous Page IconTo Previous Page
To Previous Page IconTo Previous Page
Loading...
Dispensing5
5.2 Refilling the Product Reservoir
5.2.1 Product Reservoir with Low Level Sensor (Automatic Reservoir)
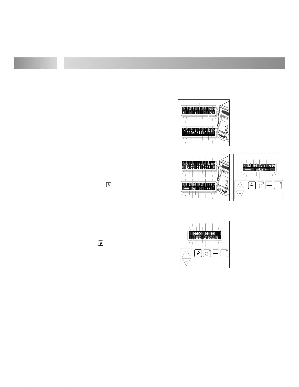
Error message „ --- Refill ---
(see Chapter 7):
The error message display blinks.
Prepare product for refilling.
Error message „ --- Empty --- “ with beeping:
The error message display blinks. The dispensing
sequence is interrupted and no further dispensing
sequence can be started.
Press the button to stop the beeping.
The automatic reservoir 97106 / 97108 is automatically depressurized following the empty message.
Refill the automatic reservoir according to its instruction manual and reconnect.
Error message
PRESS ENTER
>Tank Inactive<
(product reservoir ( Tank ) not pressurized):
Press button once ( PRESS ENTER ). The
automatic reservoir is pressurized.
The error message „ Press. 0.83 NOK
( Press. = Dispensing pressure)
blinks in the digital display with beeping.
The value 0.83 [bar/psi] is only an example for
the indication of the dispensing pressure (see Chapter 7).
The error message „Press 0.83 NOK“ with beeping disappears by itself when the dispensing
pressure in the product reservoir does not deviate more than 10 % from the stored comparison value
of the automatic pressure control.
After the error message „ Press. 0.83 NOK “ with beeping has disappeared:
Continue dispensing with the stored values for dispensing time and pressure.
R
CONT
bar
psi
97102
R
CONT
bar
psi
97102
CONT
bar
psi
CONT
bar
psi
40

Table of Contents

Related product manuals