EasyManua.ls Logo

Lofrans IRIS II - Menu de Programmation du Compteur Métrique; Menu Longueur

Lofrans IRIS II
52 pages
Print Icon
To Next Page IconTo Next Page
To Next Page IconTo Next Page
To Previous Page IconTo Previous Page
To Previous Page IconTo Previous Page
Loading...
26
IRIS II
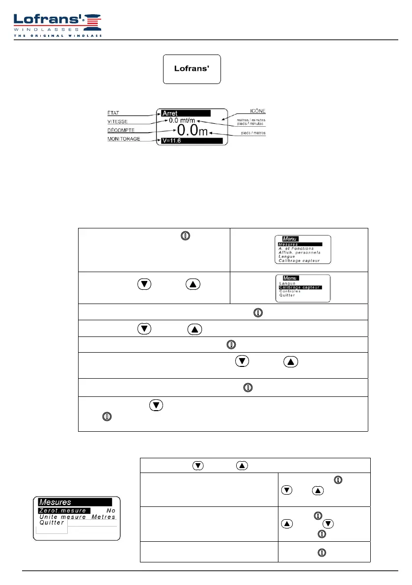
Lors de l’allumage de l’instrument on entend un beep sonore et apparaît pour quelques secondes la page suivante:
Une fois terminée la procédure d’initialisation, apparaît la page principale.
Où:
ÉTAT: indique l’état de l’instrument et les anomalies éventuelles.
VITESSE: indique la vitesse de la chaîne, remontée ou descente, en mètres ou pieds par minute.
DÉCOMPTE: indique la longueur de la chaîne descendue (mètres ou pieds).
MONITORAGE: indique la tension d’alimentation.
ICÔNE: il s’agit du secteur du moniteur où apparaissent les icônes indiquant la remontée ou la descente de l’ancre et les anomalies
éventuelles. Lors du premier allumage, l’instrument se positionne conformément à la programmation par défaut (voir tableau).
En maintenant enfoncée la touche (ON),
pendant six secondes, on a accès au menu de
programmation de l’instrument. Sur le moniteur
apparaît la page suivante:
Utiliser les touches
(DOWN) et (UP)
pour se déplacer à l’intérieur du menu.
Se porter sur la rubrique à modier et appuyer sur la touche
(ON) pour valider le choix.
Utiliser les touches
(DOWN) ou (UP) pour se déplacer parmi les paramètres.
Une fois choisi le paramètre appuyer sur la touche
(ON) pour activer la modication.
En fonction du type de paramètre, utiliser les touches
(DOWN) et (UP), pour
réduire/augmenter la valeur ou désactiver/activer la fonction.
Une fois la modication effectuée, appuyer sur la touche
(ON) pour valider.
Au moyen de la touche
(DOWN) se porter sur la rubrique Quitter et appuyer de nouveau sur la
touche (ON) pour retourner au menu programmation. Suivre la même procédure pour retourner
à la page principale.
4.2 Menu de programmation du compteur métrique
4.3 Measurement menu
Utiliser les touches (DOWN) ou (UP) pour se déplacer parmi les paramètres.
Zerot.mesure
Remet à zéro la longueur de la chaîne (0.0).
Sélectionner avec
= Oui = Non
Valider avec
Units
Selects the unit of measurement:
Feet/ inches
Metres / centimetres
Select with
= Pieds = Mètres
Valider avec
Exit
To return to the settings menu.
Valider avec

Table of Contents

Related product manuals