EasyManua.ls Logo

Louis SINGLE - 4 Montage; Vorbereitung; Vormontierung

Louis SINGLE
Print Icon
To Next Page IconTo Next Page
To Next Page IconTo Next Page
To Previous Page IconTo Previous Page
To Previous Page IconTo Previous Page
Loading...
6
HINWEIS!
Beschädigungsgefahr!
• Im Untergrund müssen Schrauben haltbar xiert werden können.
• Bei Montage im Mauerwerk die beiliegenden Dübel und Schrauben verwenden.
• Bei Wänden mit z.B. Hohlräumen passende, separat zu erwerbende Dübel
verwenden.
• Auf keinen Fall Nägel zur Befestigung verwenden.
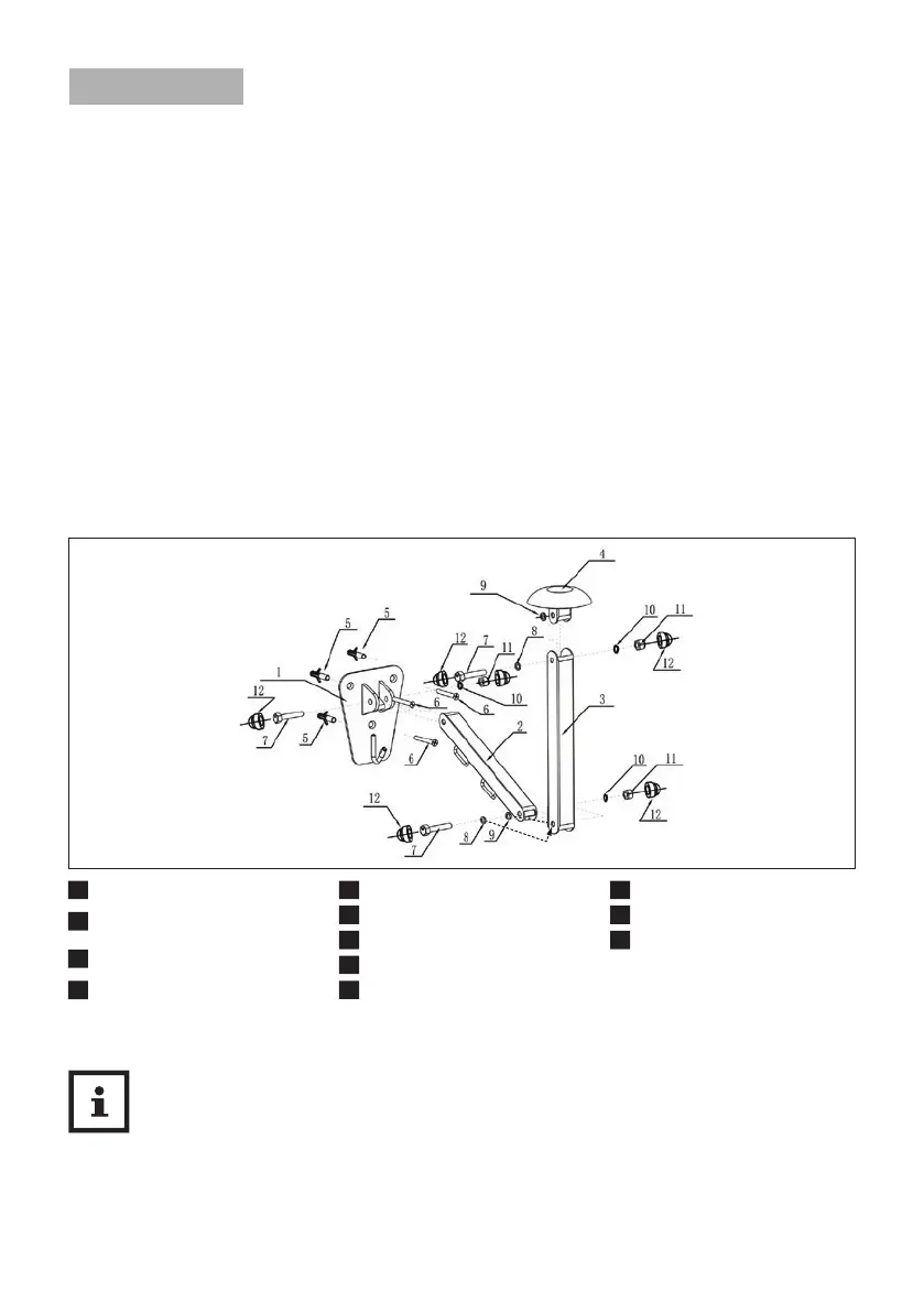
4 | Montage
4.1 | Vorbereitung
Die nötige Zeit für die Montage einplanen, Ruhe bewahren und die Arbeit mit Sorgfalt ausführen. Es
wird ggf. ein 8 mm Steinbohrer und Bohrmaschine, eine Wasserwaage sowie Schraubenschlüssel in
der Größe 13 benötigt.
4.2 | Vormontierung
Zunächst das erste Armsegment mit den Einhängeschlaufen nach unten weisend an die Grundplatte
montieren. Dabei wie folgt vorgehen.
Anschließend das zweite Armsegment am ersten verschrauben.
Aufgrund von Fertigungstoleranzen müssen die Laschen u.U. etwas auseinandergedrückt
werden, um die Wellenscheibe platzieren zu können.
Jetzt wird die Helmauage am zweiten Armsegment montiert. Die Muttern zunächst so fest anzie-
hen, dass sich die Arme justieren lassen. Die Garderobe dann so ausrichten, wie es für das Aufbe-
wahren von Helm und Kleidung am praktischsten ist. Anschließend die Schrauben so festziehen,
dass diese bei Belastung durch schwere Motorradbekleidung nicht nachgeben und die eingestellten
Segmente in ihrer Position verbleiben.
1
Grundplatte
2
Armsegment mit
Einhängeschlaufen
3
Armsegment ohne
Einhängeschlaufen
4
Helmauflage
5
3 x Dübel (8 x 40 mm)
6
3 x Senkschraube (5 x 50 mm)
7
3 x Sechskantschraube M8 x 45
8
2x Außenzahnscheibe M8
9
2x Innenzahnscheibe M8
10
3 x Federring M8
11
3 x Sicherungsmutter M8
12
6 x Kunststoffkappe M8

Table of Contents