EasyManua.ls Logo

LSIS SV008iC5-1F - PNP;NPN Selection and Communication Option

LSIS SV008iC5-1F
81 pages
To Next Page IconTo Next Page
To Next Page IconTo Next Page
To Previous Page IconTo Previous Page
To Previous Page IconTo Previous Page
Loading...
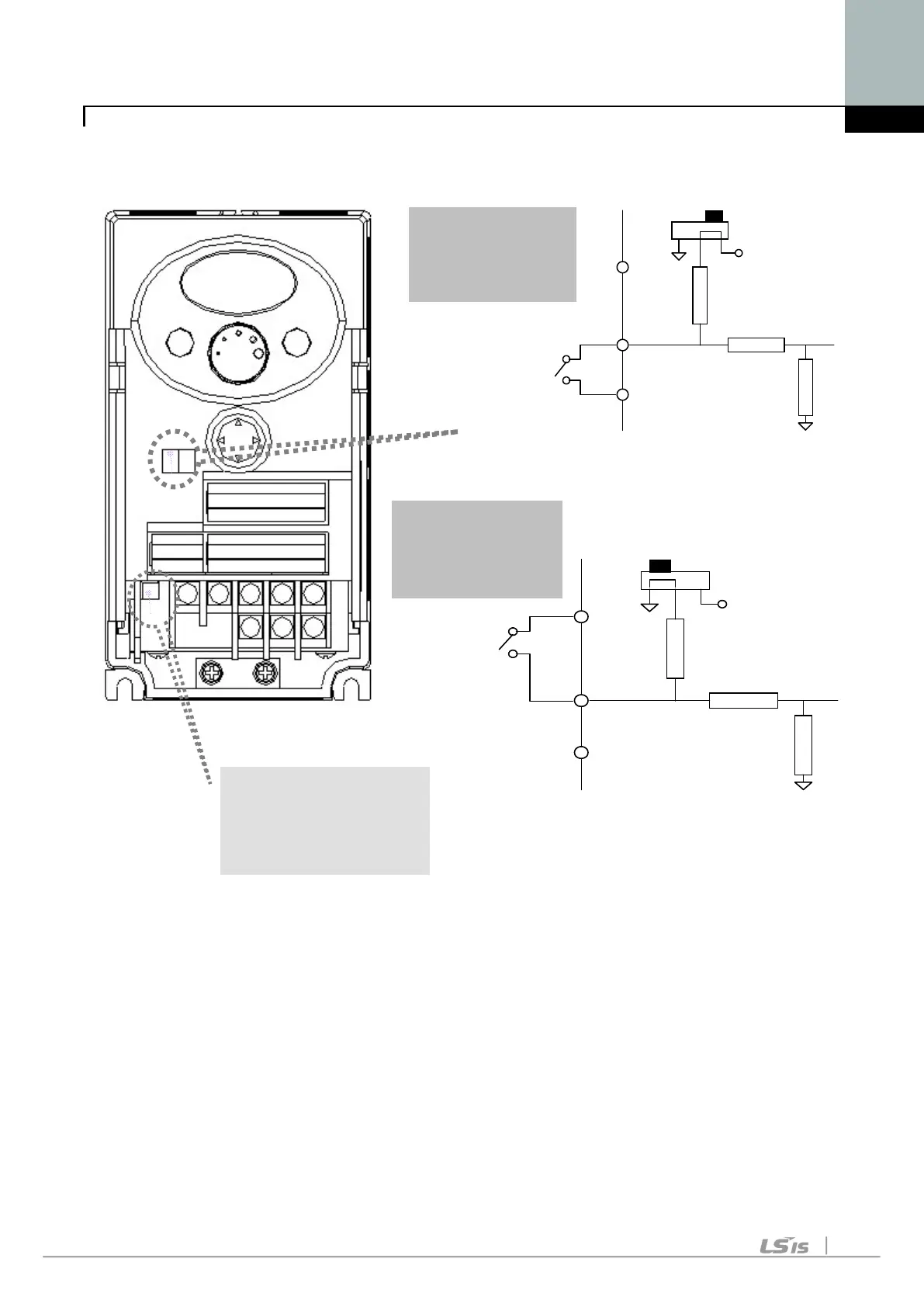
3. Wiring
3-5
3.4 PNP/NPN Selection and Connector for Communication Option
Note: MODBUS RTU option card is available for SV-iC5. Refer to MODBUS RTU
option card manual for more details.
2. When using 24V
external power
supply [PNP]
1. When using P24
[NPN]
2. Communication
Option Card
Connector: Install
Communication option
CM
FX
24X
24I
CM
Resistor
Resistor
Resistor
CPU
CM
FX
24X
24I
CM
CM
Resistor
Resistor
Resistor
CPU
S4

Related product manuals