EasyManua.ls Logo

M/A-Com Orion - Call Storage Lists; Sending an Individual Call

M/A-Com Orion
80 pages
Print Icon
To Next Page IconTo Next Page
To Next Page IconTo Next Page
To Previous Page IconTo Previous Page
To Previous Page IconTo Previous Page
Loading...
To access the list, press the
i key twice. Use the , or . keys to scroll
through the list. Pressing the
m key will display the time elapsed since the
call was received.
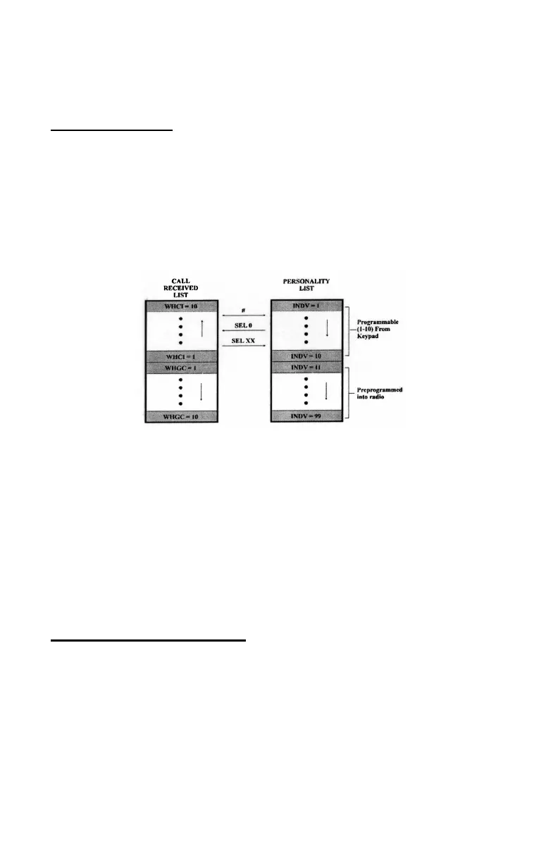
Call Storage Lists
There are two lists available for call storage in the radio, the calls received list
(1-10) and the personality list (1-99 as defined by the user). When the
individual call mode is entered by pressing
i, the calls received list is
available. The user can toggle to the personality list by selecting any key other
than
d (0) or toggle between the two lists by pressing the i key. If
wrap is enabled, the calls received list wraps on itself and not into the other
list.
The saved call list shows all ten storage locations. If no calls have been
received, the saved call list will be empty and the pre-stored list will be
available upon entering the individual call mode.
When in the saved call list, pressing
m toggles the time stamp on and OFF.
The time stamp indicates how long ago the call was received. The display
indicates this information as HH:MM:SS where HH = hours, MM = minutes
and SS = seconds.
When in the pre-stored list, pressing
m toggles the Logical IDentification
(LID) on and OFF.
Sending An Individual Call
The following procedures describe how to initiate and complete an individual
call.
1. To select a previously stored individual, select the I-Call mode from the
menu or press
i followed by the RAMP control , or . to scroll
through the list of stored individuals. The selection mode rules apply.
While in the individual call list, the menu key will toggle the display
between the call name and the unit ID number. If the individual is not
42

Table of Contents

Other manuals for M/A-Com Orion

Related product manuals