EasyManua.ls Logo

M Design VENUS - Page 57

Default Icon
57 pages
Print Icon
To Previous Page IconTo Previous Page
To Previous Page IconTo Previous Page
Loading...
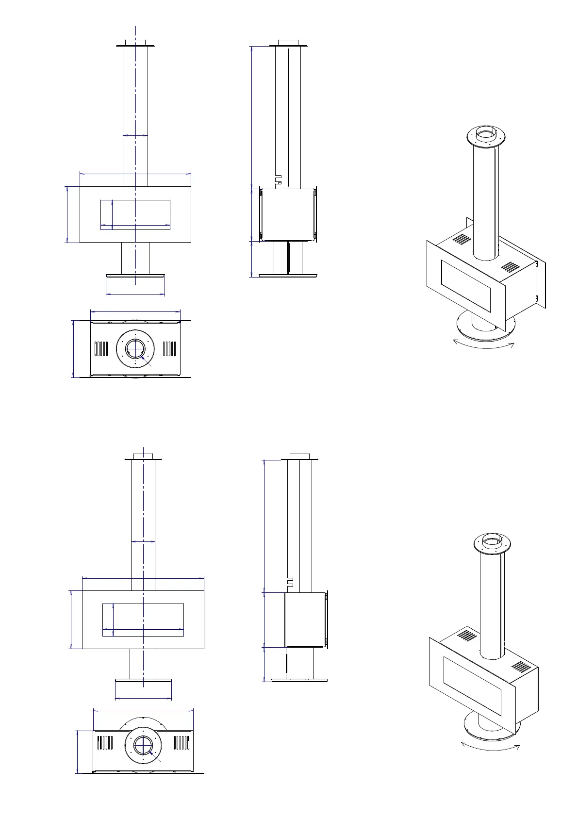
O
625
O
267
1190
598
740
320
961
609
380 561 1520
360
v
VENUS V23 850D HT
int.
O
181
900
360
380 610 1470
648
1350
O
625
1111
477
O
267
VENUS V23 1000 HT
int.
O
181
360
v
57

Other manuals for M Design VENUS

Related product manuals