EasyManua.ls Logo

Macurco GD-6 - Page 63

Macurco GD-6
104 pages
Print Icon
To Next Page IconTo Next Page
To Next Page IconTo Next Page
To Previous Page IconTo Previous Page
To Previous Page IconTo Previous Page
Loading...
Manuel d'exploitation de Macurco GD-xx
REV 2.0.0 [34-2900-0027-6 ] 13 | La page
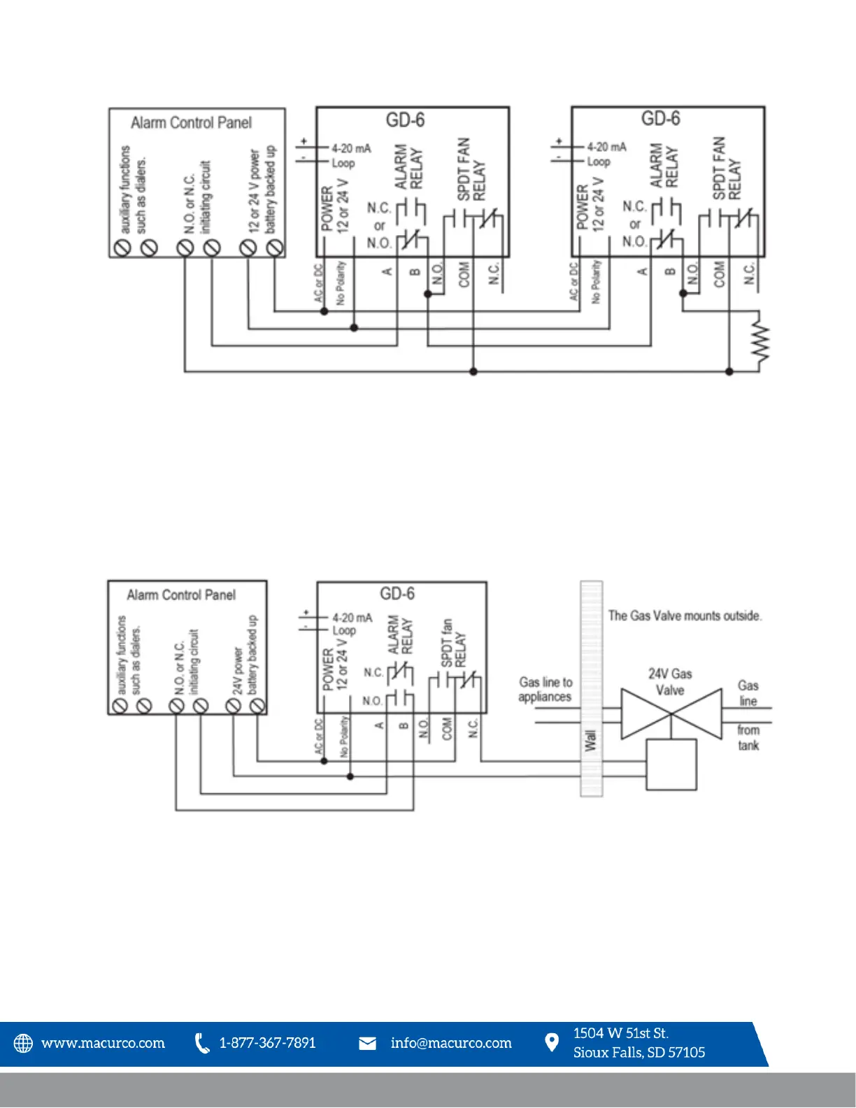
Figure 3-7 Panneau d'alarme alternatif de la série 6
Dans cette application (ci-dessus), le ventilateur ou le relais primaire est utilisé comme relais d'alarme de bas niveau.
L'alarme ou le relais secondaire est utilisé comme relais de surveillance une fois utilisé dans la configuration
normalement fermée. Le GD-6 surveille toutes les fonctions critiques de l'unité grâce à des diagnostics logiciels qui
testent et vérifient continuellement ses opérations. Si un problème est détecté, l'unité passera à un mode de
sécurité intégrée / d'erreur ou à une condition de problème. En ce mode d'erreur, les relais Fan* et Alarm seront
activés en indiquant la condition de problème au panneau et l'écran GD-6 clignotera l'erreur. *Voir l'option de
réglage du ventilateur de problème.
Figure 3-8 Câblage du panneau d'alarme et de la vanne d'arrêt de la série 6

Table of Contents

Related product manuals