EasyManua.ls Logo

Manta MM336 - Page 3

Manta MM336
Print Icon
To Next Page IconTo Next Page
To Next Page IconTo Next Page
To Previous Page IconTo Previous Page
To Previous Page IconTo Previous Page
Loading...
INSTRUKCJA OBSŁUGI
3
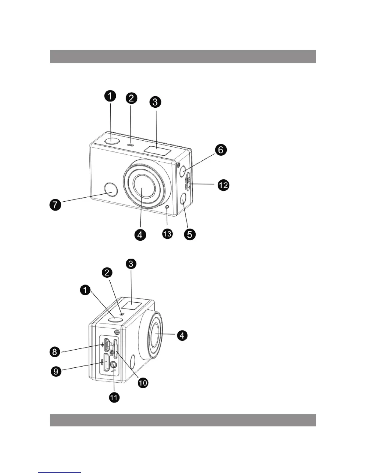
Wygląd zewtrzny i przyciski
1. Przycisk migawki
2. Mikrofon
3. Wyświetlacz LCD
4. Obiektyw
5. Przełącznik i wskaźnik statusu
Wi-Fi (czerwony)
6. Przycisk zasilania / trybu
7. Dioda odbiorcza podczerwieni
8. Gniazdo micro USB
9. Gniazdo mini HDMI
10. Gniazdo karty microSD
11. Mikrofon zewnętrzny
12. Suwak pokrywy baterii
13. Dioda LED