EasyManua.ls Logo

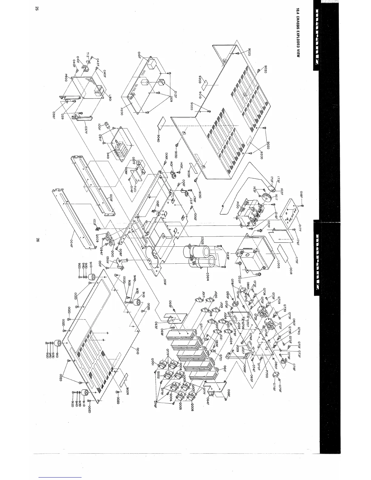
Marantz 2285B - Chassis Exploded View

Marantz 2285B
40 pages
Print Icon
To Previous Page IconTo Previous Page
To Previous Page IconTo Previous Page
Loading...

Related product manuals