EasyManua.ls Logo

Marantz SR-66 - ALIGNMENT PROCEDURES (continued); AM and FM Alignment Connection Diagrams

Marantz SR-66
28 pages
Print Icon
To Next Page IconTo Next Page
To Next Page IconTo Next Page
To Previous Page IconTo Previous Page
To Previous Page IconTo Previous Page
Loading...
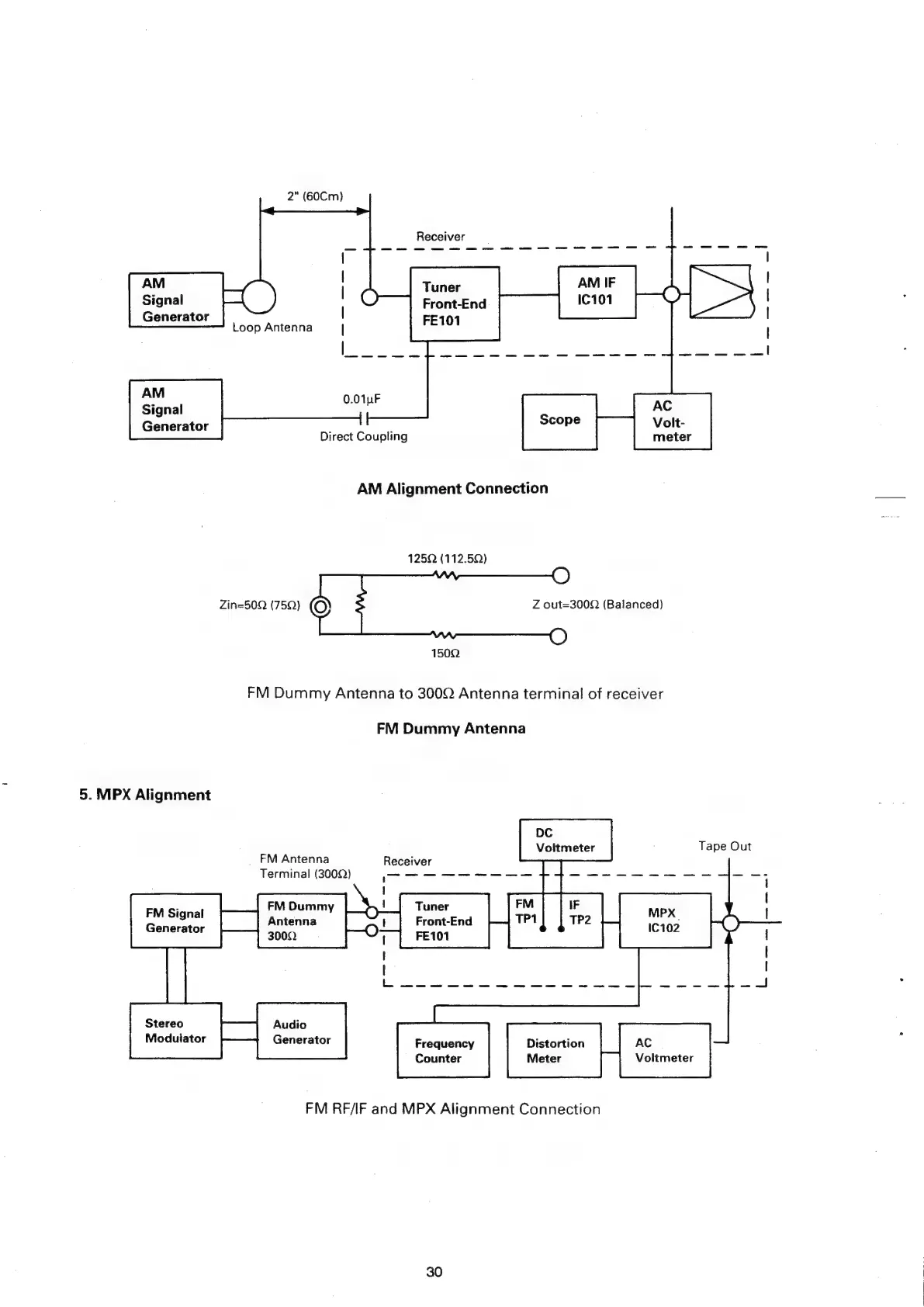
2"
(60Cm)
Receiver
AM
Signal
Generator
Tuner
Front-End
FE101
Loop
Antenna
AM
Signal
Generator
Direct
Coupling
AM
Alignment
Connection
125
(112.5Q)
Zin=50Q
(75Q)
Z
out=300Q
(Balanced)
150Q
FM
Dummy
Antenna
to
300Q
Antenna
terminal
of
receiver
FM
Dummy
Antenna
5.
MPX
Alignment
DC
Voltmeter
Tape
Out
_
FM
Antenna
Receiver
Terminal
(300Q)
:
Tuner
IF
fis
eae
Front-End
TP2
sian
enerator
FE101
1C102
Stereo
Audio
Modulator
Generator
Frequency
Distortion
Counter
Meter
Voltmeter
FM
RF/IF
and
MPX
Alignment
Connection
30

Related product manuals