EasyManua.ls Logo

Mec 3084RT - Page 214

Default Icon
344 pages
Print Icon
To Next Page IconTo Next Page
To Next Page IconTo Next Page
To Previous Page IconTo Previous Page
To Previous Page IconTo Previous Page
Loading...
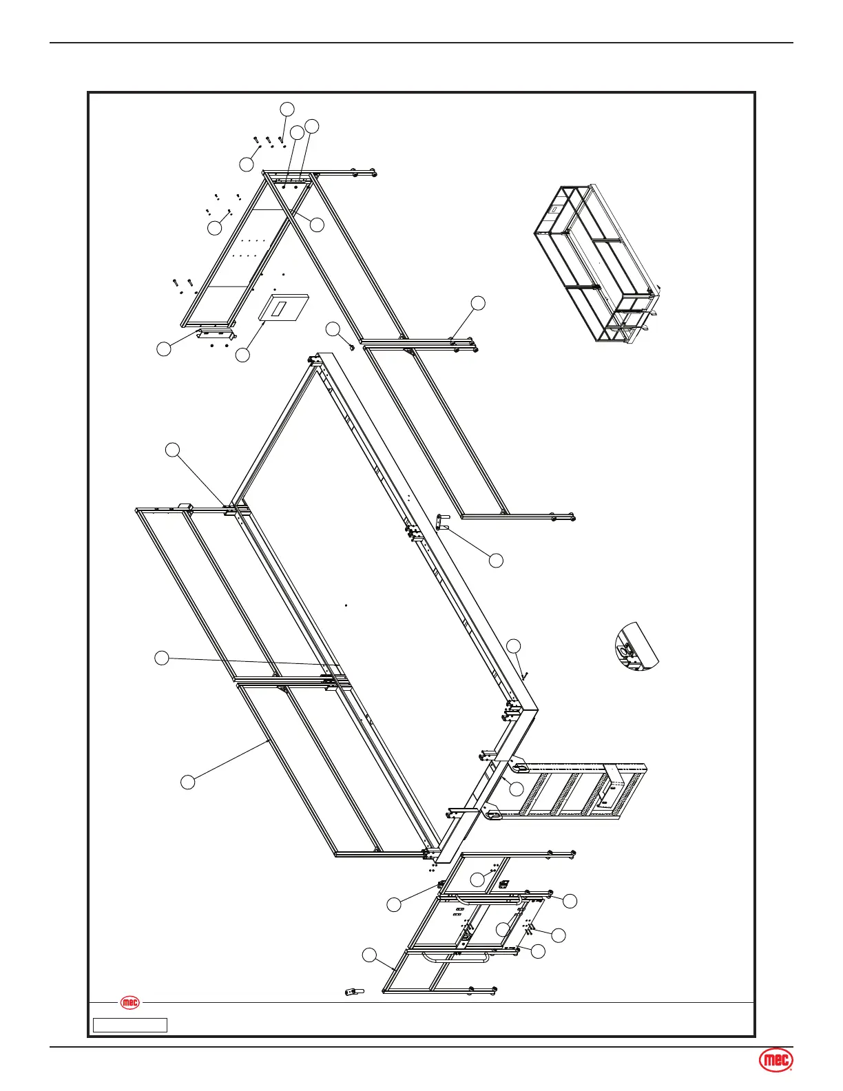
Page 207 Speed Level Series - Service & Parts Manual
January 2019Section 12 - Platform and Rails
Platform & Rails, 3084 - From Serial # 11800047
3084 Platform3084 - Speed Level Series
Art_5374
ILLUSTRATION No.
14
19
13
18
5
22
2
3
7
24
21
12
11
15
8
17
20
9
6
16
10
1
23
OPTIONAL: 6X BRACKET ATTACH #3923
12X NNYL M10 X 1.50 0B ZP NYLON INS #50049
12X HHCS M10-1.50 X 025 08 ZP F #50033
12X WSHR M10 ZP STANDARD FLAT #50003
ATTACHED AS SHOWN
A
DETAIL A
SCALE 1 : 8

Table of Contents

Related product manuals