EasyManua.ls Logo

Medion LIFE E65010 - Fernbedienung

Medion LIFE E65010
Print Icon
To Next Page IconTo Next Page
To Next Page IconTo Next Page
To Previous Page IconTo Previous Page
To Previous Page IconTo Previous Page
Loading...
18
6.5. Fernbedienung
MUTE
SLEEP
EQ
REPEAT/RANDOM
PRESET/PROGRAM
CD/USB
TAPE/LINE IN
RADIO
AMS/CLOCK
ST/MO
STANDBY
49
50
51
52
53
54
55 43
44
45
46
47
48
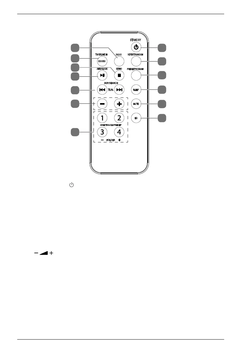
43) STANDBY – Gerät einschalten / in den Standby-Modus schalten
44) REPEAT/RANDOMWiederholungsmodus/Zufallswiedergabe
45) PRESET/PROGRAM – Radiostationstaste/Programmfunktion
46) SLEEP – Sleepmodus aufrufen
47) MUTE– Stummschaltung
48) EQ – Equalizermodus wählen, Bass ein-/ausschalten
49) ONE TOUCH PRESET 14 – Direktwahl gespeicherter Radiosender
1-4
FOLDER /+ – Im USB/MP3-CD-Modus einen Dateiordner zurück/weiter
50) – Lautstärke verringern/erhöhen
51) SKIP/SEARCH / – vorheriger/nächster Titel
Schnelllauf rückwärts/vorwärts
TUNING – Radiofrequenz/Sendersuchlauf rückwärts/vorwärts
52) Wiedergabe starten/anhalten
AMS – Radiosender automatisch speichern
CLOCK – Uhrzeit einstellen
53) Wiedergabe stoppen
ST/MO – Zwischen Stereo/Mono wechseln
54) TAPE/LINE IN/CD/USBWiedergabemodus auswählen
55) RADIO – Radiobetrieb

Table of Contents

Related product manuals