EasyManua.ls Logo

Merik Security+ 711MD - Coloque el Riel la Ménsula del Cabezal

Merik Security+ 711MD
80 pages
Print Icon
To Next Page IconTo Next Page
To Next Page IconTo Next Page
To Previous Page IconTo Previous Page
To Previous Page IconTo Previous Page
Loading...
Soporte
temporal
Soporte del cabezal
Ménsula
Pared del cabezal
Puerta de garaje
Riel
Pasador de chaveta
5/16 pulg. x 2 - 3/4 pulg.
Seguro de aro
Riel
Soporte del cabezal
Ménsula
19
Pasador chaveta de
5/16x2-3/4 de pulg. Seguro de anillo
ESTAS PIEZAS SE MUESTRAN EN SU TAMAÑO REAL
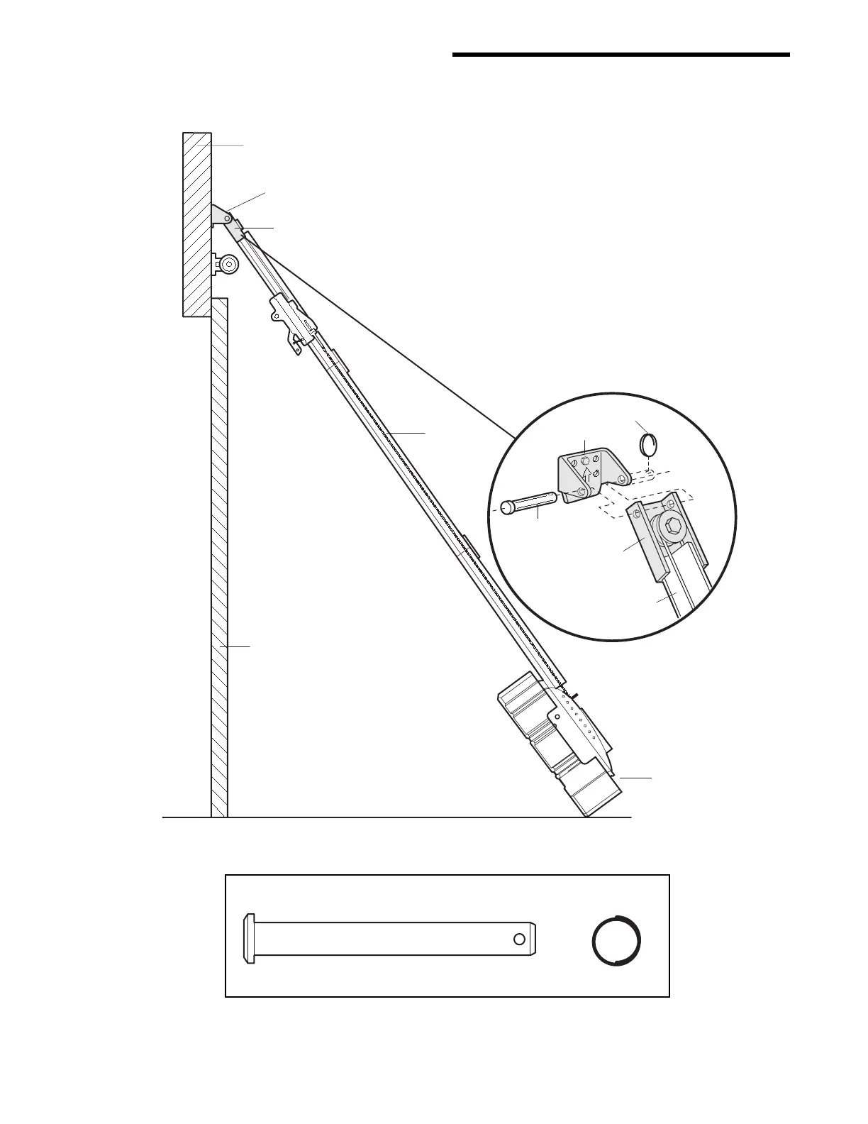
INSTALACIÓN PASO 3
Coloque el riel en la ménsula
del cabezal
• Coloque el abre-puertas sobre el piso del garaje debajo
de la ménsula del cabezal. Use el hule espuma del
empaque como base para protegerlo.
NOTA: Si el resorte de la puerta está obstruido, va a
necesitar ayuda. Otra persona tendrá que sostener el
abre-puertas firmemente sobre un soporte temporal para
ayudarle a que el riel pueda separarse del resorte.
• Coloque la ménsula del riel junto a la ménsula
del cabezal.
Alinee los orificios de las ménsulas y júntelas con un
pasador de chaveta como se muestra en la ilustración.
• Sujételos con un anillo sujetador.

Table of Contents

Related product manuals