EasyManua.ls Logo

Miele DGM 7440 - Controls; Control Panel Layout

Miele DGM 7440
160 pages
Print Icon
To Next Page IconTo Next Page
To Next Page IconTo Next Page
To Previous Page IconTo Previous Page
To Previous Page IconTo Previous Page
Loading...
Controls
23
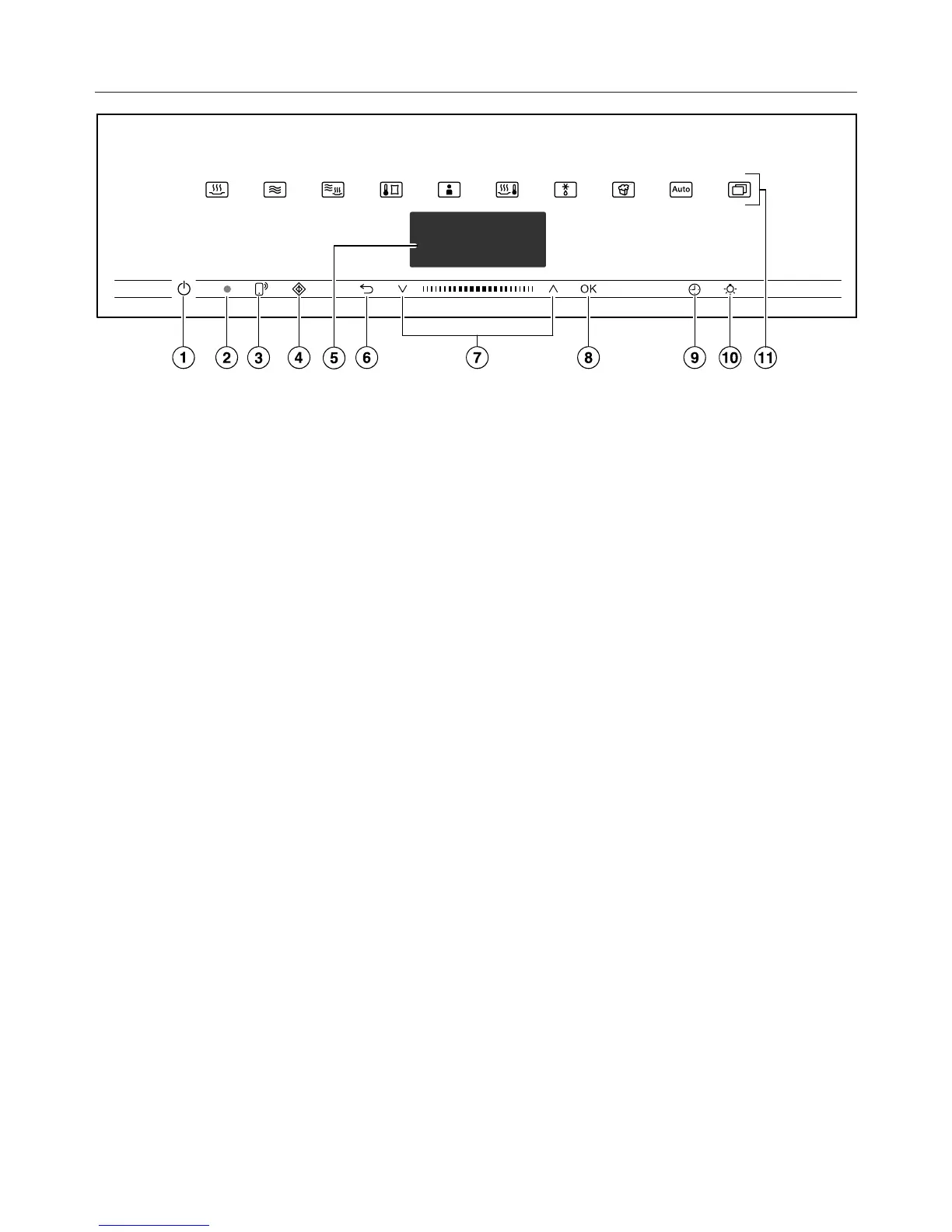
a
Recessed On/Off control
For switching the steam oven on and
off
b
Optical interface
(For Miele Service only)
c
sensor control
For controlling the steam oven via
your mobile device
d
sensor control
For starting the Quick MW function
e
Display
For displaying the time of day and
information on operation
f
sensor control
For going back a step and for chan-
ging menu options during a cooking
programme
g
Navigation area with andarrow
buttons
For scrolling through lists and for
changing values
h
OKsensor control
For selecting functions and saving
settings
i
sensor control
For setting a minute minder, the
cooking duration or the start or end
time for the cooking programme
j
sensor control
For switching the oven interior light-
ing on and off
k
Sensor controls
For selecting functions, automatic
programmes and settings

Table of Contents

Other manuals for Miele DGM 7440

Related product manuals