EasyManua.ls Logo

Miele H6090B - Page 63

Miele H6090B
72 pages
Print Icon
To Next Page IconTo Next Page
To Next Page IconTo Next Page
To Previous Page IconTo Previous Page
To Previous Page IconTo Previous Page
Loading...
Oven
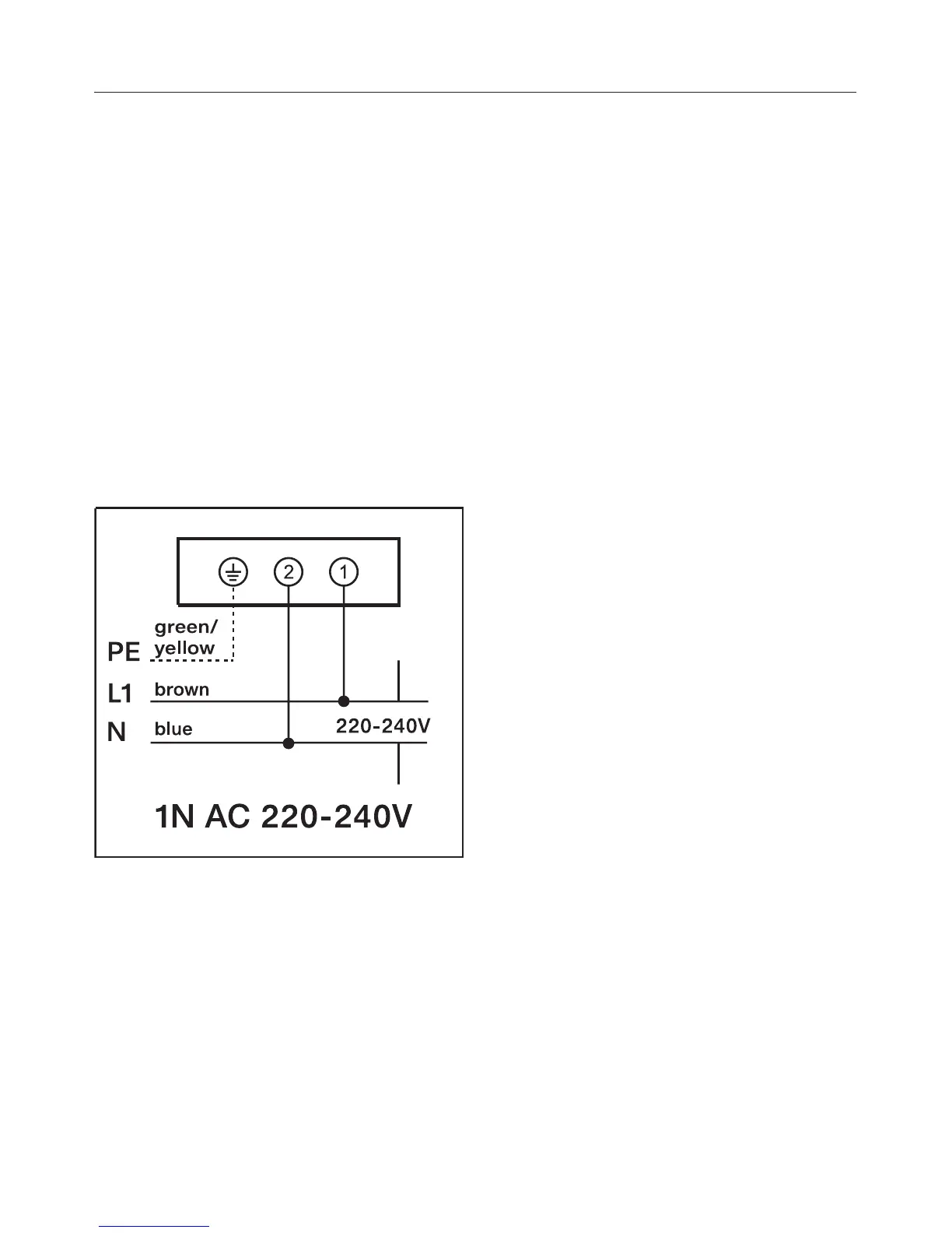
The oven is supplied for connection to a
single-phase 230 V, 50 Hz supply with a
3-core cable.
The wires in the mains lead are
coloured in accordance with the
following code:
Green/yellow = earth
Blue = neutral
Brown = live
WARNING
THIS APPLIANCE MUST BE
EARTHED
Electrical connection
63

Table of Contents

Related product manuals