EasyManua.ls Logo

Miele PT 7136 - Direct Wall Connection Method

Miele PT 7136
64 pages
Print Icon
To Next Page IconTo Next Page
To Next Page IconTo Next Page
To Previous Page IconTo Previous Page
To Previous Page IconTo Previous Page
Loading...
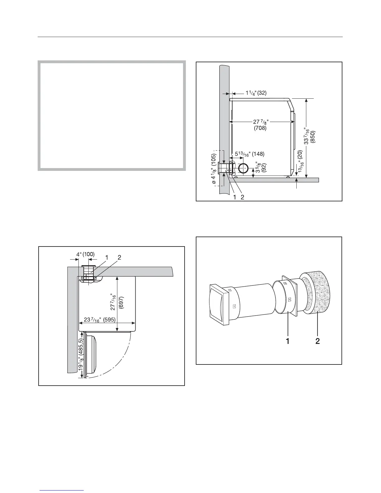
Direct wall connection
This venting type is ideal if the dryer
can be installed directly to an outer
wall. The shorter the exhaust
ductwork, the more efficient the
dryer will be. However, for the wall
pipe to be installed a hole must be
cut through the outer wall.
Regard the Install manual for the
Miele wall pipe and the dimension
illustrations below.
Necessary materials:
wall pipe (optional accessory)
a flexible spacer ring (optional
accessory)
Dryer top view
1 Wall pipe
2 Flexible foam gasket (space ring)
Dryer side view
1 Wall pipe
2 Flexible foam gasket (space ring)
^
Connect the flexible space ring, 2,to
the wall pipe connector, 1.
^
Push the dryer to the wall.
Installation of exhaust venting
49

Other manuals for Miele PT 7136

Related product manuals