EasyManua.ls Logo

Migatronic PI 250 AC/DC HP - Page 146

Migatronic PI 250 AC/DC HP
150 pages
Go to English
To Next Page IconTo Next Page
To Next Page IconTo Next Page
To Previous Page IconTo Previous Page
To Previous Page IconTo Previous Page
Loading...
146
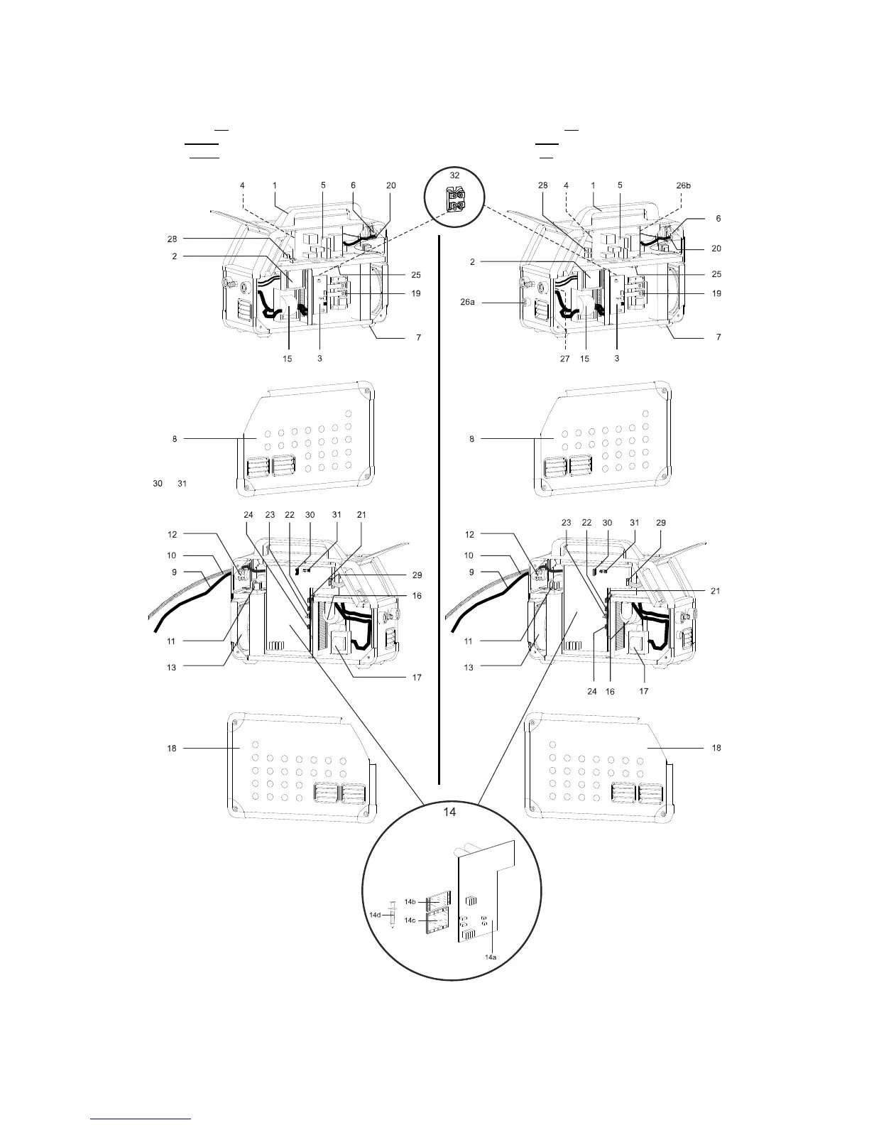
PI 200 AC/DC
PI 200 AC/DC MK I PI 200 AC/DC MK II
(Gældende før serienummer 0608xxxx) (Gældende fra serienummer 0608xxxx)
(Valid before serial number 0608xxxx) (Valid from serial number 0608xxxx)
(Gültig bevor Seriennummer 0608xxxx) (Gültig ab Seriennummer 0608xxxx)
Pos. No. Varebetegnelse Description of goods
Warenbezeichnung Désignation des pièces
1 45050329 Håndtag Handle
Handgriff Poignée
2 16160128 Spole, PFC Coil, PFC
Spule, PFC Bobine PFC

Table of Contents

Related product manuals