EasyManua.ls Logo

molgen PurePrep 96 - Touch Screen

Default Icon
36 pages
Print Icon
To Next Page IconTo Next Page
To Next Page IconTo Next Page
To Previous Page IconTo Previous Page
To Previous Page IconTo Previous Page
Loading...
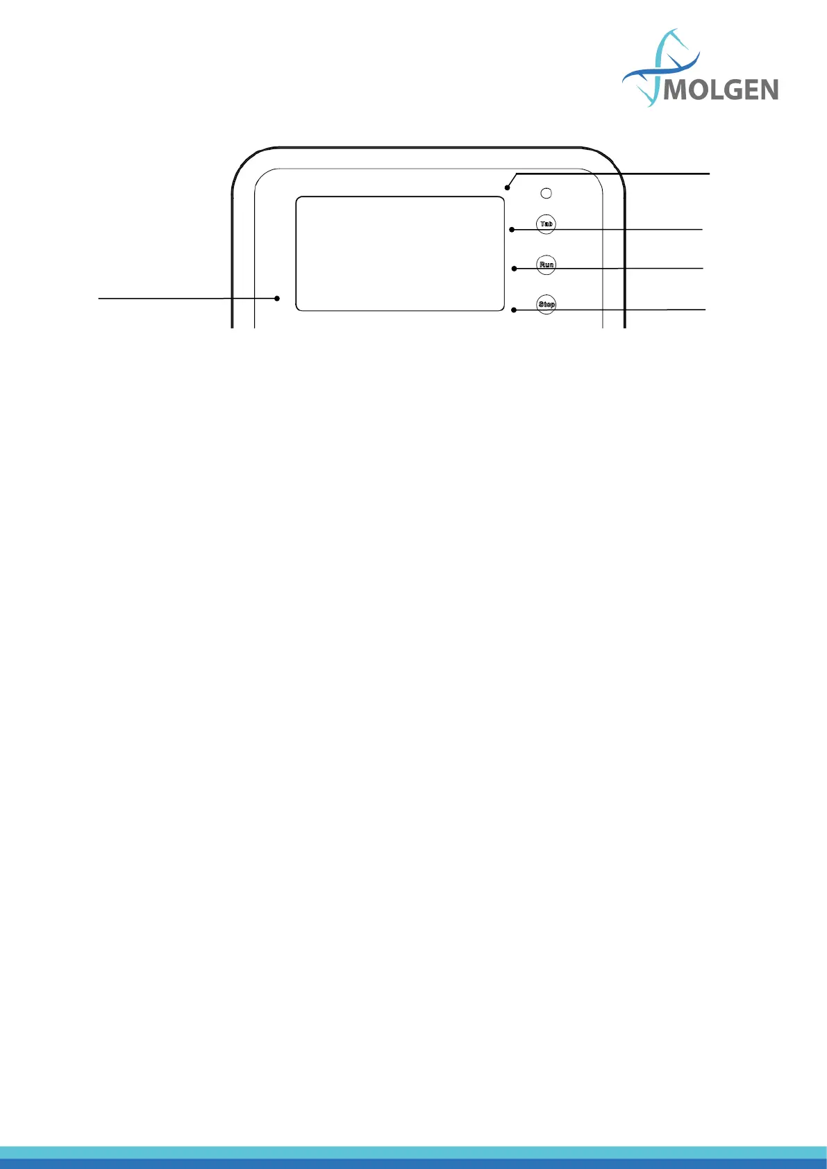
3.1.5. Touch Screen
Fig 6
Display screen: Touch screen, mouse also can be connected for operation.
TAB: Select shortcut program.
RUN: Start the shortcut program and run the instrument.
STOP: Stop the operation.
Display screen
TAB
RUN
STOP
Indicator light